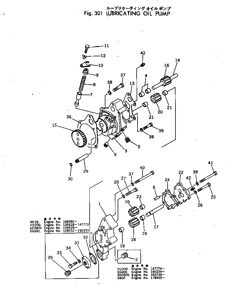
Запчасти Komatsu NTC-743-1B СМАЗЫВ. НАСОС СИСТЕМА СМАЗКИ МАСЛ. СИСТЕМА

Схема запчастей Komatsu NTC-743-1B - СМАЗЫВ. НАСОС СИСТЕМА СМАЗКИ МАСЛ. СИСТЕМА
FIT
1:1
100%

Артикул

Название

Примечание

Количество

|1

6685-51-1001

OIL PUMP ASS'Y

SN: .-UP

1шт.

|1

0

OIL PUMP ASS'Y

SN: 108380-.

1шт.

1

6610-51-1210

BODY

SN: 108380-UP

1шт.

|3

6685-51-1100

BODY ASS'Y

SN: 108380-UP

1шт.

3

0

BODY

SN: 108380-UP

1шт.

4

0

BUSHING

SN: 108380-UP

2шт.

5

02720-21214

PLUG

SN: 108380-UP

2шт.

6

02400-10619

PIN

SN: 108380-UP

2шт.

7

6610-51-1710

PLUNGER

SN: 108380-UP

1шт.

8

6610-51-1720

SPRING

SN: 108380-UP

1шт.

9

6610-51-1740

PLUG

SN: 108380-UP

1шт.

10

6610-51-1730

RETAINER

SN: 108380-UP

1шт.

11

02010-20622

BOLT

SN: 108380-UP

1шт.

12

6610-51-1750

PLATE

SN: 108380-UP

1шт.

13

6610-51-1610

GASKET

SN: 108380-UP

1шт.

14

6610-51-1321

SHAFT

SN: 108380-UP

1шт.

15

6610-51-1311

GEAR

SN: 108380-UP

1шт.

16

6610-51-1340

GEAR

SN: 108380-UP

2шт.

17

6610-51-1330

SHAFT

SN: 108380-UP

1шт.

|18

6610-51-1300

GEAR ASS'Y

SN: 108380-UP

1шт.

18

0

GEAR

SN: 108380-UP

1шт.

19

0

BUSHING

SN: 108380-UP

2шт.

|20

6610-51-1400

GEAR ASS'Y

SN: 108380-UP

1шт.

20

0

GEAR

SN: 108380-UP

1шт.

21

0

BUSHING

SN: 108380-UP

2шт.

|22

6610-51-1500

COVER ASS'Y

SN: 108380-UP

1шт.

22

0

COVER

SN: 108380-UP

1шт.

23

0

BUSHING

SN: 108380-UP

1шт.

24

6610-51-1620

GASKET

SN: 108380-UP

1шт.

25

02010-20676

BOLT

SN: 108380-UP

6шт.

26

02310-11224

WASHER

SN: 108380-UP

6шт.

27

02010-70564

BOLT

SN: 108380-UP

2шт.

28

02310-11020

WASHER

SN: 108380-UP

2шт.

29

6685-51-1130

TUBE

SN: 108380-UP

1шт.

30

02891-02012

O-RING (KIT)

SN: 108380-UP

1шт.

31

6610-51-1640

FLANGE

SN: 108380-UP

1шт.

32

6610-51-1650

GASKET

SN: 108380-UP

1шт.

33

02010-30632

BOLT

SN: 108380-UP

2шт.

34

02310-11224

WASHER

SN: 108380-UP

2шт.

35

02720-21214

PLUG

SN: 108380-UP

1шт.

36

6610-51-1811

GASKET (KIT)

SN: 108380-UP

1шт.

37

02030-70725

BOLT

SN: 108380-UP

2шт.

38

02310-11428

WASHER

SN: 108380-UP

5шт.

39

02030-70770

BOLT

SN: 108380-UP

1шт.

40

6600-01-2120

BOLT

SN: 108380-UP

1шт.

41

6610-51-1630

BOLT

SN: 108380-UP

1шт.

Выбрано товаров: 0