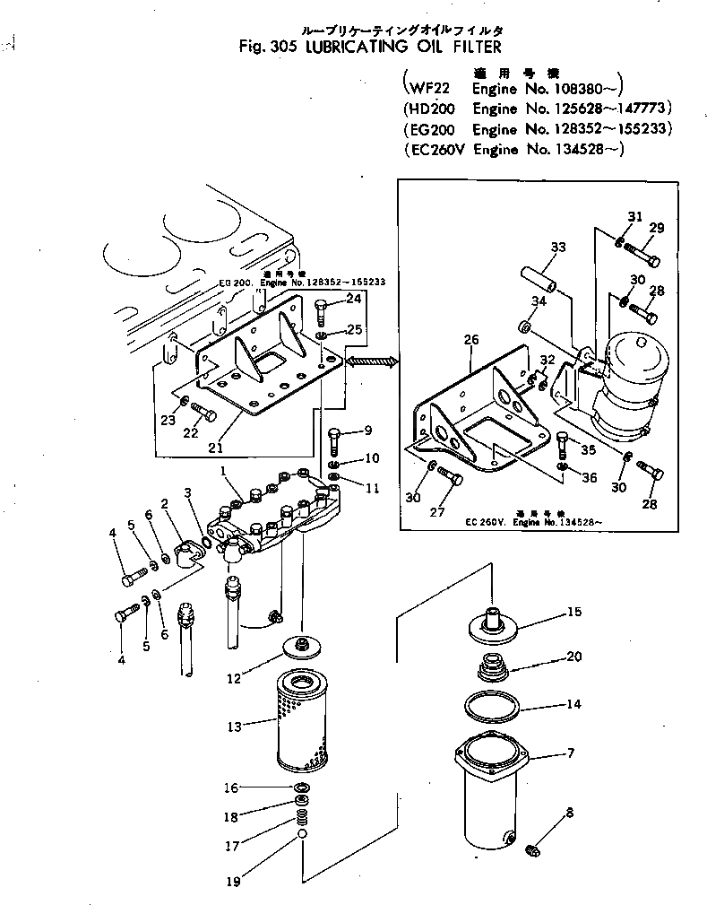
Запчасти Komatsu NTC-743-1B МАСЛ. ФИЛЬТР СИСТЕМА СМАЗКИ МАСЛ. СИСТЕМА

Схема запчастей Komatsu NTC-743-1B - МАСЛ. ФИЛЬТР СИСТЕМА СМАЗКИ МАСЛ. СИСТЕМА
FIT
1:1
100%

Артикул

Название

Примечание

Количество

|1

6667-51-4100

FILTER ASS'Y

SN: 108380-UP

1шт.

1

6667-51-4110

HEAD

SN: 108380-UP

1шт.

2

6667-51-4510

CONNECTOR

SN: 108380-UP

2шт.

3

07000-63035

O-RING

SN: 108380-UP

2шт.

4

01010-31055

BOLT

SN: 108380-UP

4шт.

5

01602-01030

WASHER

SN: 108380-UP

4шт.

6

01640-21016

WASHER

SN: 108380-UP

4шт.

7

6610-51-4200

CASE

SN: 108380-UP

2шт.

8

6610-51-4520

PLUG

SN: 108380-UP

2шт.

9

02010-20770

BOLT

SN: 108380-UP

8шт.

10

02310-01428

WASHER

SN: 108380-UP

8шт.

11

02300-01520

WASHER

SN: 108380-UP

8шт.

12

6610-51-4130

RETAINER

SN: 108380-UP

2шт.

|13

6610-50-5100

ELEMENT ASS'Y

SN: 108380-UP

2шт.

13

0

ELEMENT

SN: 108380-UP

1шт.

14

6610-51-4810

GASKET

SN: 108380-UP

1шт.

15

6610-51-4312

RETAINER

SN: 108380-UP

2шт.

|15

0

RETAINER

SN: 108380-UP

2шт.

16

6610-51-4331

RING

SN: 108380-UP

2шт.

17

6610-51-4351

SPRING

SN: 108380-UP

2шт.

18

6610-51-4360

RETAINER

SN: 108380-UP

2шт.

19

6610-51-4340

BALL

SN: 108380-UP

2шт.

20

6610-51-4510

SPRING

SN: 108380-UP

2шт.

Выбрано товаров: 23