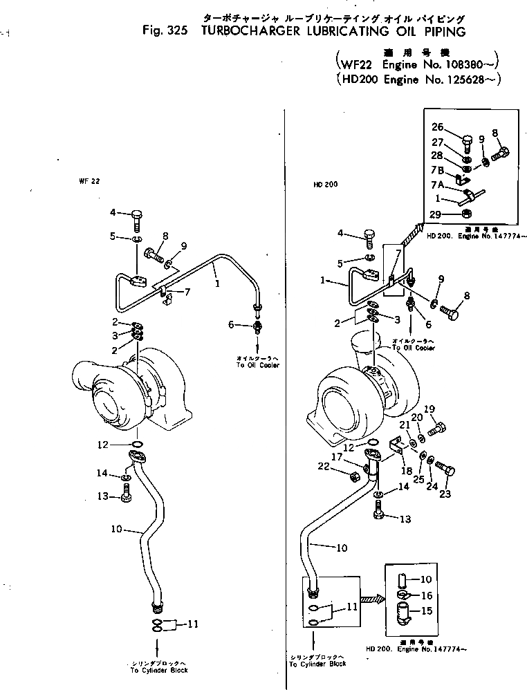
Запчасти Komatsu NTC-743-1B ЛИНИЯ СМАЗКИ ТУРБОНАГНЕТАТЕЛЯ СИСТЕМА СМАЗКИ МАСЛ. СИСТЕМА

Схема запчастей Komatsu NTC-743-1B - ЛИНИЯ СМАЗКИ ТУРБОНАГНЕТАТЕЛЯ СИСТЕМА СМАЗКИ МАСЛ. СИСТЕМА
FIT
1:1
100%

Артикул

Название

Примечание

Количество

1

6667-81-9550

PIPE

SN: 108380-UP

1шт.

2

6128-51-8150

GASKET (KIT)

SN: 108380-UP

2шт.

3

6125-51-8130

ORIFICE

SN: 108380-UP

1шт.

4

01010-30840

BOLT

SN: 108380-UP

2шт.

5

01602-00825

WASHER

SN: 108380-UP

2шт.

6

6600-02-3292

NIPPLE

SN: 108380-UP

1шт.

7

6685-83-9730

CLIP

SN: 108380-UP

1шт.

8

01050-30820

BOLT

SN: 108380-UP

1шт.

9

01602-00825

WASHER

SN: 108380-UP

1шт.

10

6667-81-9710

PIPE

SN: 108380-UP

1шт.

11

07000-63030

O-RING (KIT)

SN: 108380-UP

2шт.

12

07000-63038

O-RING (KIT)

SN: 108380-UP

1шт.

13

01050-31030

BOLT

SN: 108380-UP

2шт.

14

01602-01030

WASHER

SN: 108380-UP

2шт.

Выбрано товаров: 14