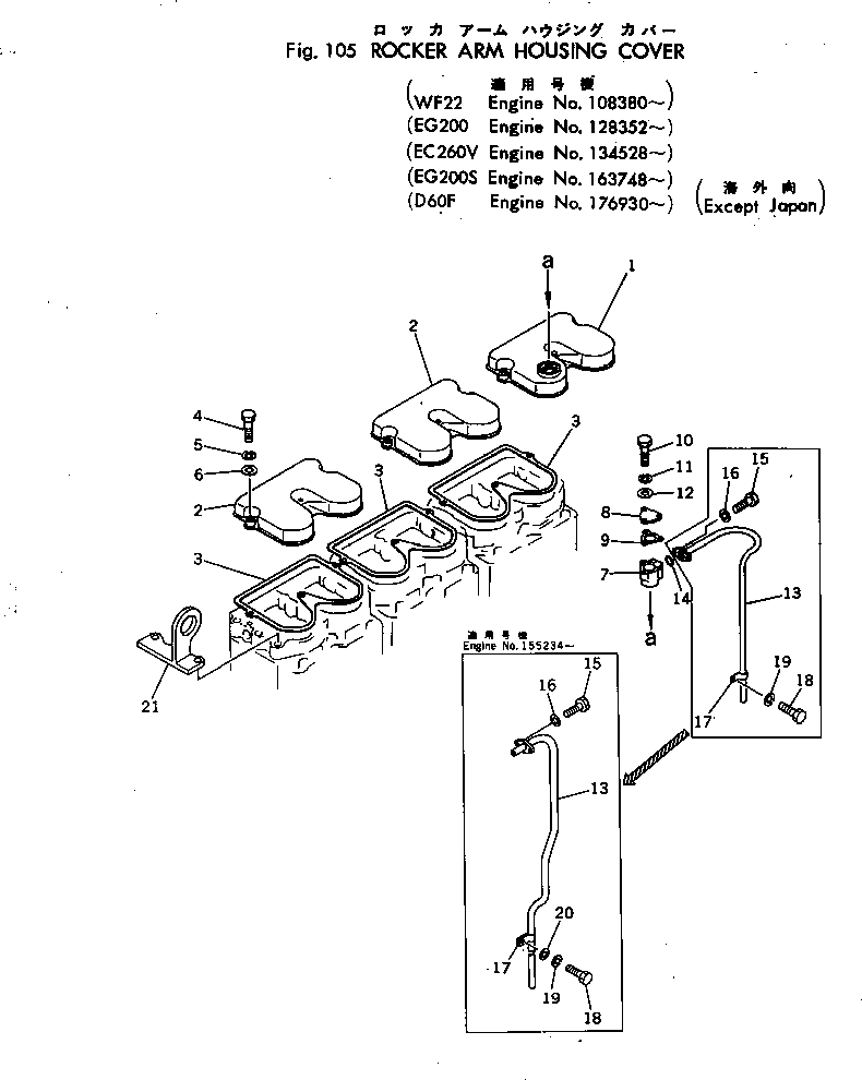
Запчасти Komatsu NTC-743-1B КРЫШКА КОРОМЫСЛА ГОЛОВКА ЦИЛИНДРОВ

Схема запчастей Komatsu NTC-743-1B - КРЫШКА КОРОМЫСЛА ГОЛОВКА ЦИЛИНДРОВ
FIT
1:1
100%

Артикул

Название

Примечание

Количество

1

6685-11-8111

COVER

SN: 108380-UP

1шт.

2

6610-11-8120

COVER

SN: 108380-UP

2шт.

3

6610-11-8810

GASKET (KIT)

SN: 108380-UP

3шт.

4

02010-70632

BOLT

SN: 108380-UP

9шт.

5

02310-11224

WASHER

SN: 108380-UP

9шт.

6

02300-11320

WASHER

SN: 108380-UP

9шт.

|7

6710-21-7400

BREATHER ASS'Y

SN: 108380-UP

1шт.

7

6685-21-7410

BODY

SN: 108380-UP

1шт.

8

6685-21-7420

COVER

SN: 108380-UP

1шт.

9

6685-21-7430

GASKET (KIT)

SN: 108380-UP

1шт.

10

02010-70422

BOLT

SN: 108380-UP

3шт.

11

02310-00916

WASHER

SN: 108380-UP

3шт.

12

02300-10920

WASHER

SN: 108380-UP

3шт.

13

6685-21-7625

PIPE

SN: .-UP

1шт.

|13

0

PIPE

SN: 108380-.

1шт.

14

07000-03020

O-RING (KIT)

SN: .-UP

1шт.

|14

0

O-RING (KIT)

SN: 108380-.

1шт.

15

02010-70522

BOLT

SN: 108380-UP

2шт.

16

02310-11020

WASHER

SN: 108380-UP

2шт.

17

6685-21-7643

CLAMP

SN: 108380-UP

1шт.

18

02010-30619

BOLT

SN: 108380-UP

1шт.

19

01602-00929

WASHER

SN: 108380-UP

1шт.

Выбрано товаров: 22