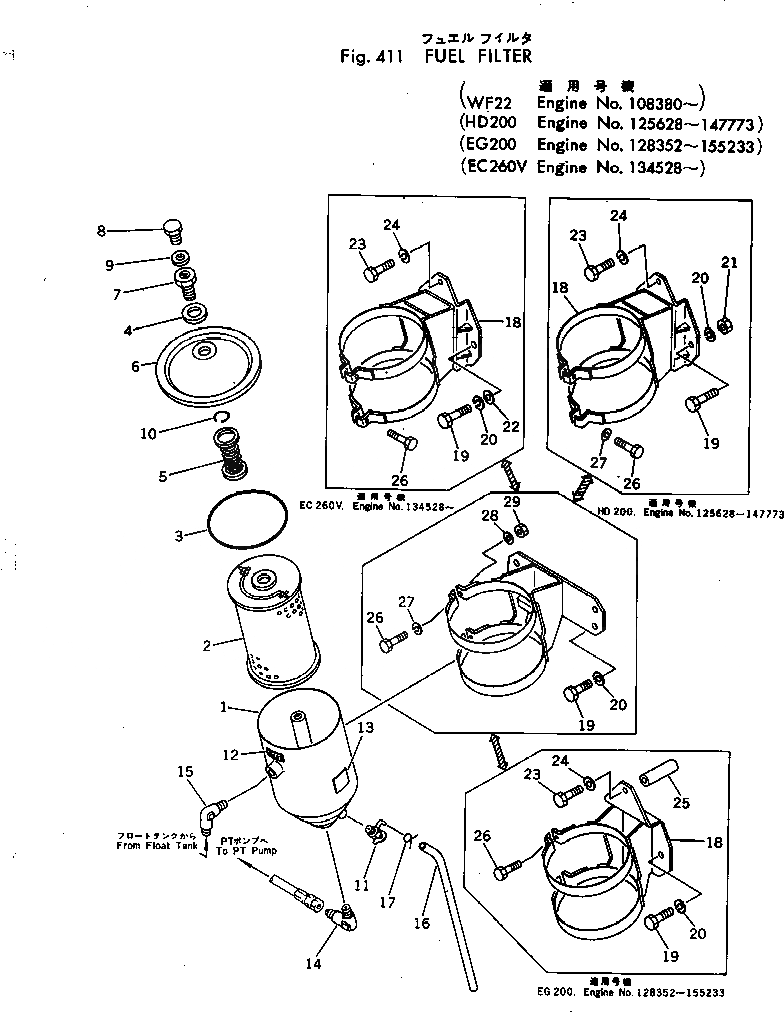
Запчасти Komatsu NTC-743-1B ТОПЛИВН. ФИЛЬТР. ТОПЛИВН. СИСТЕМА

Схема запчастей Komatsu NTC-743-1B - ТОПЛИВН. ФИЛЬТР. ТОПЛИВН. СИСТЕМА
FIT
1:1
100%

Артикул

Название

Примечание

Количество

|$0

6610-71-8005

FUEL FILTER ASS'Y

SN: .-UP

1шт.

|$1

0

FUEL FILTER ASS'Y

SN: 108380-.

1шт.

1

6610-71-8403

BODY

SN: 108380-UP

1шт.

|$3

6610-70-8603

ELEMENT ASS'Y

SN: 108380-UP

1шт.

2

0

CARTRIDGE

SN: 108380-UP

1шт.

3

6610-71-8483

O-RING

SN: 108380-UP

1шт.

4

07005-02216

GASKET

SN: 108380-UP

1шт.

5

6610-71-8541

SPRING

SN: 108380-UP

1шт.

6

6610-71-8512

COVER

SN: 108380-UP

1шт.

|$9

6610-70-8521

CENTER BOLT ASS'Y

SN: 108380-UP

1шт.

7

6631-71-8520

BOLT

SN: .-UP

1шт.

7

0

BOLT

SN: 108380-.

1шт.

8

01010-30812

BOLT

SN: 108380-UP

1шт.

9

6610-71-8690

GASKET

SN: 108380-UP

1шт.

10

6110-21-8531

RING

SN: 108380-UP

1шт.

11

6610-71-8961

VALVE

SN: 108380-UP

1шт.

12

6610-71-8580

PLATE, NAME

SN: 108380-UP

1шт.

13

09630-00100

PLATE, CAUTION

SN: 108380-UP

1шт.

14

6600-02-3861

CONNECTOR

SN: 108380-UP

1шт.

15

6610-71-8490

ELBOW

SN: 108380-UP

1шт.

16

07270-00850

TUBE

SN: 108380-UP

1шт.

17

04059-01012

WIRE

SN: 108380-UP

1шт.

18

6667-21-6510

BRACKET

SN: 108380-UP

1шт.

19

02030-70925

BOLT

SN: 108380-UP

4шт.

20

02310-01836

WASHER

SN: 108380-UP

4шт.

26

01050-31040

BOLT

SN: 108380-UP

2шт.

27

01602-01030

WASHER

SN: 108380-UP

2шт.

28

01641-21016

WASHER

SN: 108380-UP

2шт.

29

01582-01008

NUT

SN: 108380-UP

2шт.

Выбрано товаров: 29