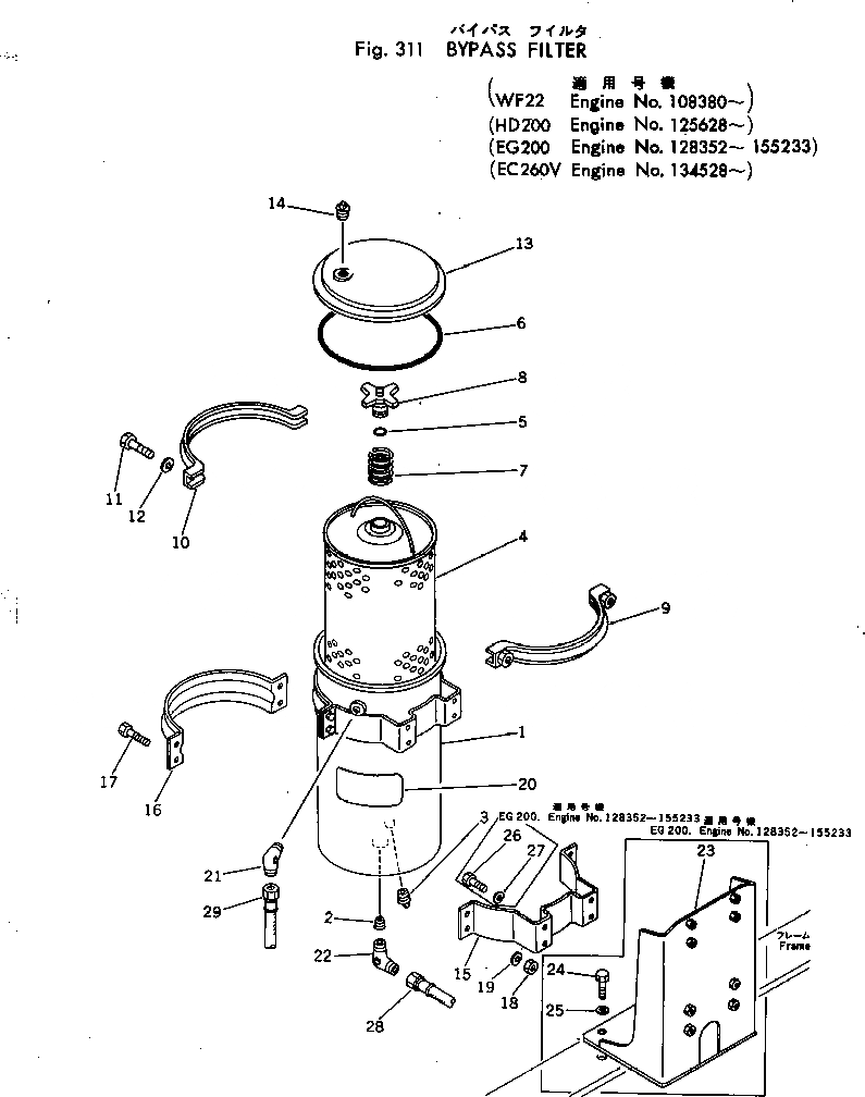
Запчасти Komatsu NTC-743-1C ПРОХОДНОЙ ФИЛЬТР СИСТЕМА СМАЗКИ МАСЛ. СИСТЕМА

Схема запчастей Komatsu NTC-743-1C - ПРОХОДНОЙ ФИЛЬТР СИСТЕМА СМАЗКИ МАСЛ. СИСТЕМА
FIT
1:1
100%

Артикул

Название

Примечание

Количество

|1

6684-51-5000

BYPASS FILTER A.

SN: 108380-UP

1шт.

1

6610-51-5100

CASE

SN: 108380-UP

1шт.

2

6610-51-5640

PLUG

SN: 108380-UP

1шт.

3

6610-51-4520

PLUG

SN: 108380-UP

1шт.

|4

6610-51-5050

ELEMENT ASS'Y

SN: 108380-UP

1шт.

4

0

ELEMENT

SN: 108380-UP

1шт.

5

6610-51-5620

O-RING

SN: 108380-UP

1шт.

6

02894-07201

O-RING

SN: 108380-UP

1шт.

7

6610-51-5630

SPRING

SN: 108380-UP

1шт.

8

6610-51-5610

SUPPORT

SN: 108380-UP

1шт.

9

6610-51-5530

COUPLING

SN: 108380-UP

1шт.

10

6610-51-5520

COUPLING

SN: 108380-UP

1шт.

11

600-211-1850

BOLT

SN: 108380-UP

2шт.

12

02310-11020

WASHER

SN: 108380-UP

2шт.

13

6610-51-5510

COVER

SN: 108380-UP

1шт.

14

6610-51-4520

PLUG

SN: 108380-UP

1шт.

15

6610-51-5710

BAND

SN: 108380-UP

2шт.

16

6610-51-5720

BAND

SN: 108380-UP

2шт.

17

02010-20419

BOLT

SN: 108380-UP

8шт.

18

02205-10406

NUT

SN: 108380-UP

8шт.

19

02310-10916

WASHER

SN: 108380-UP

8шт.

20

09633-00125

PLATE¤ INSTRUCTION

SN: 108380-UP

1шт.

21

02701-31006

ELBOW

SN: 108380-UP

1шт.

22

6600-01-3242

ELBOW

SN: 108380-UP

1шт.

28

6684-51-9411

HOSE

SN: 108380-UP

1шт.

29

6684-51-9311

HOSE

SN: 108380-UP

1шт.

Выбрано товаров: 26