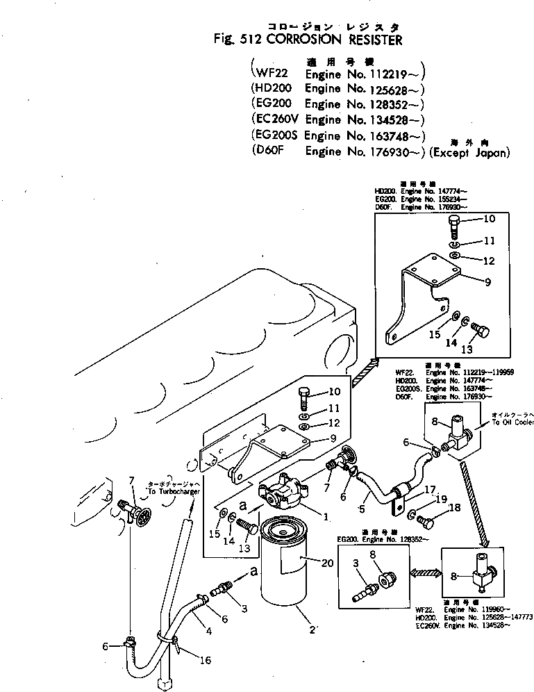
Запчасти Komatsu NTC-743-1C АНТИКОРРОЗ. ЭЛЕМЕНТ ПРЕДОХР-ЛЬ СИСТЕМА ОХЛАЖДЕНИЯ

Схема запчастей Komatsu NTC-743-1C - АНТИКОРРОЗ. ЭЛЕМЕНТ ПРЕДОХР-ЛЬ СИСТЕМА ОХЛАЖДЕНИЯ
FIT
1:1
100%

Артикул

Название

Примечание

Количество

|1

6710-61-8104

RESISTOR ASS'Y,CORROSION

SN: ..-UP

1шт.

|1

0

RESISTOR ASS'Y,CORROSION

SN: 112219-.

1шт.

|1

0

RESISTOR ASS'Y,CORROSION

SN: .-..

1шт.

1

6710-61-8212

HEAD

SN: 112219-UP

1шт.

2

600-411-1020

CARTRIDGE

SN: ..-UP

1шт.

|2

0

CARTRIDGE

SN: 112219-.

1шт.

|2

0

CARTRIDGE

SN: .-..

1шт.

3

6710-61-8610

CONNECTOR

SN: 112219-UP

1шт.

4

07260-00945

HOSE

SN: 125628-147773

1шт.

|4

6631-61-8431

HOSE

SN: 147774-.

1шт.

|4

07260-20922

HOSE

SN: .-UP

1шт.

5

07260-00945

HOSE

SN: 125628-147773

1шт.

|5

07260-20980

HOSE

SN: 147774-UP

1шт.

6

07281-00197

CLAMP

SN: 112219-UP

4шт.

7

6710-61-8411

VALVE

SN: .-UP

2шт.

|7

0

VALVE

SN: 112219-.

2шт.

8

6631-61-8630

CONNECTOR

SN: 147774-UP

1шт.

|8

6667-61-8680

CONNECTOR

SN: 125628-147773

1шт.

9

6667-21-6110

BRACKET

SN: 125628-147773

1шт.

|9

6631-21-6110

BRACKET

SN: 147774-UP

1шт.

10

02010-70632

BOLT

SN: 112219-UP

4шт.

11

01602-20929

WASHER

SN: 112219-UP

4шт.

12

01642-21016

WASHER

SN: 112219-UP

4шт.

13

01010-31255

BOLT

SN: 125628-147773

1шт.

|13

02010-70832

BOLT

SN: 147774-UP

2шт.

14

01602-01338

WASHER

SN: 125628-147773

2шт.

|14

02310-11632

WASHER

SN: 147774-UP

2шт.

15

01640-21226

WASHER

SN: 125628-147773

2шт.

|15

02300-11730

WASHER

SN: 147774-UP

2шт.

16

600-714-1910

BAND

SN: 112219-UP

1шт.

17

6631-61-8550

CLIP

SN: 147774-UP

1шт.

18

02010-70825

BOLT

SN: 147774-UP

1шт.

19

02310-11632

WASHER

SN: 147774-UP

1шт.

Выбрано товаров: 33