Запчасти Komatsu NTC-743-1C КОМПРЕССОР И КРЕПЛЕНИЕ ЭЛЕКТРИКА

Схема запчастей Komatsu NTC-743-1C - КОМПРЕССОР И КРЕПЛЕНИЕ ЭЛЕКТРИКА
FIT
1:1
100%

Артикул

Название

Примечание

Количество

1

0

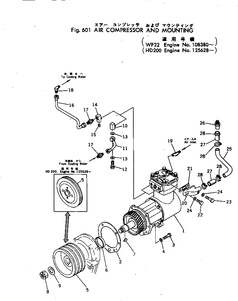
AIR COMPRESSOR A.

SN: 108380-.

1шт.

|$$2

(6684-91-1003{6684-71-2381¤}

-1шт.

|$$3

¤6684-71-7711)

-1шт.

|1

6684-91-1003

AIR COMPRESSOR A.

SN: 132319-UP

1шт.

|1

0

AIR COMPRESSOR A.

SN: .-132318

1шт.

2

6686-71-7810

GASKET (KIT)

SN: 108380-UP

1шт.

3

02030-20732

BOLT

SN: 108380-UP

5шт.

4

02310-11428

WASHER

SN: 108380-UP

5шт.

|5

6685-71-7054

PULLEY ASS'Y

SN: 147774-UP

1шт.

|5

0

PULLEY ASS'Y

SN: 125628-147773

1шт.

5

6685-71-7513

PULLEY

SN: 147774-UP

1шт.

|5

0

PULLEY

SN: 125628-147773

1шт.

6

6610-71-7520

SLEEVE

SN: 108380-UP

1шт.

7

02410-00619

KEY

SN: 108380-UP

1шт.

8

6610-71-7280

NUT

SN: 108380-UP

1шт.

9

02300-13040

WASHER

SN: 108380-UP

1шт.

10

6667-91-4120

ELBOW

SN: 125628-147773

1шт.

|10

6668-91-4110

ELBOW

SN: 147774-UP

1шт.

11

6667-91-4210

TUBE

SN: 125628-147773

1шт.

|11

6686-93-4212

TUBE

SN: 147774-UP

1шт.

12

07206-01014

BOLT

SN: 108380-UP

1шт.

13

07003-01419

GASKET (KIT)

SN: 108380-UP

2шт.

14

6667-91-4110

ELBOW

SN: 108380-UP

1шт.

15

02720-20204

PLUG

SN: 108380-UP

1шт.

16

6667-91-4220

TUBE

SN: 108380-UP

1шт.

17

6684-91-4232

NIPPLE

SN: 108380-UP

2шт.

18

6684-11-6511

ELBOW

SN: 108380-UP

1шт.

19

6600-01-3290

ELBOW

SN: 108380-UP

1шт.

20

6657-91-1710

CONNECTOR

SN: 125628-UP

1шт.

21

6684-91-1721

GASKET (KIT)

SN: 108380-UP

1шт.

22

02010-20532

BOLT

SN: 108380-UP

1шт.

23

02010-20564

BOLT

SN: 108380-UP

1шт.

24

02310-11020

WASHER

SN: 108380-UP

2шт.

25

6678-91-4150

TUBE

SN: 108380-UP

1шт.

26

6684-11-4310

NIPPLE

SN: 108380-UP

1шт.

27

6684-11-4330

HOSE

SN: 108380-UP

2шт.

28

07280-03626

CLAMP

SN: 108380-UP

4шт.

Выбрано товаров: 37