Запчасти Komatsu NTC-743-1C КРЫШКА КОРОМЫСЛА ГОЛОВКА ЦИЛИНДРОВ

Схема запчастей Komatsu NTC-743-1C - КРЫШКА КОРОМЫСЛА ГОЛОВКА ЦИЛИНДРОВ
FIT
1:1
100%

Артикул

Название

Примечание

Количество

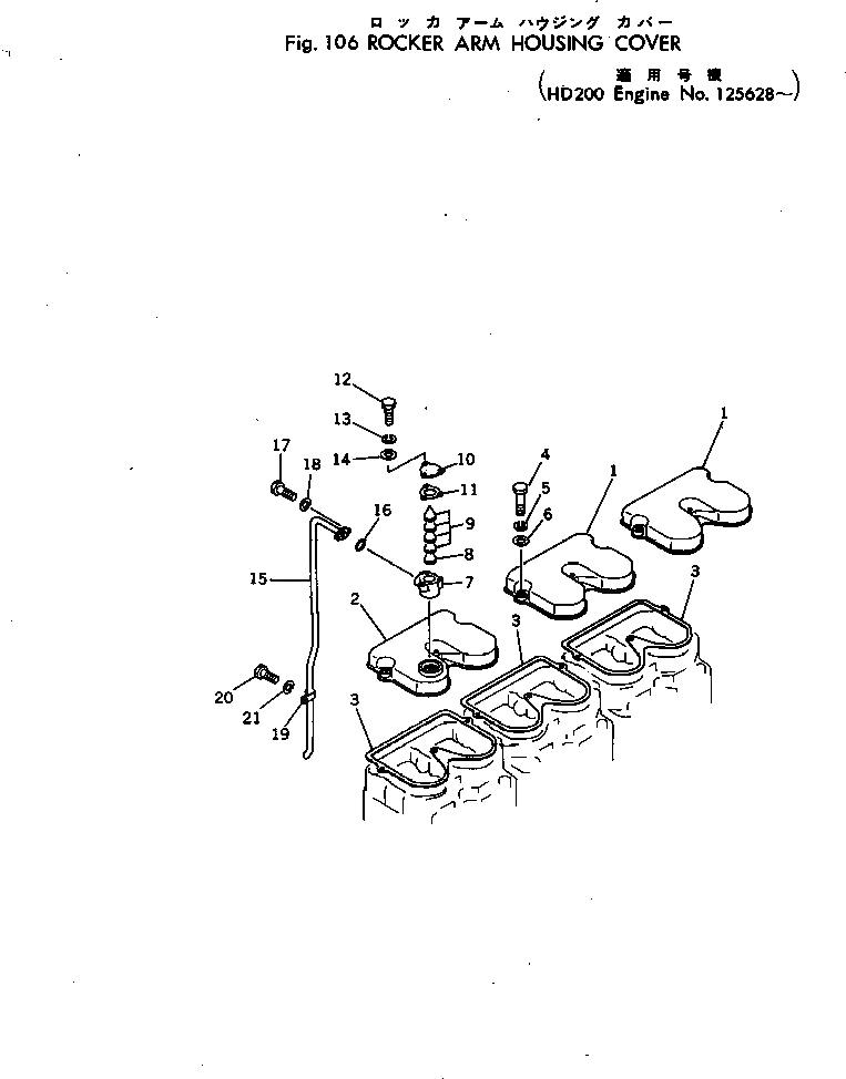
1

6610-11-8120

COVER

SN: 125628-UP

2шт.

2

6610-11-8110

COVER

SN: 125628-UP

1шт.

3

6610-11-8810

GASKET (KIT)

SN: 125628-UP

3шт.

4

02010-30632

BOLT

SN: 125628-UP

1шт.

5

02310-11224

WASHER

SN: 125628-UP

9шт.

6

02300-11320

WASHER

SN: 125628-UP

9шт.

6

6685-21-7400

BREATHER ASS'Y

SN: 125628-UP

1шт.

7

6685-21-7410

BODY

SN: 125628-UP

1шт.

8

6685-21-7460

BAFFLE

SN: 125628-UP

1шт.

9

6685-21-7440

SCREEN

SN: 125628-UP

4шт.

10

6685-21-7420

COVER

SN: 125628-UP

1шт.

11

6685-21-7430

GASKET (KIT)

SN: 125628-UP

1шт.

12

02010-30422

BOLT

SN: 125628-UP

3шт.

13

02310-00916

WASHER

SN: 125628-UP

3шт.

14

02300-00920

WASHER

SN: 125628-UP

3шт.

15

6678-21-7610

PIPE

SN: .-UP

1шт.

15

0

PIPE

SN: 125628-.

1шт.

16

07000-03020

O-RING (KIT)

SN: .-UP

1шт.

16

0

O-RING (KIT)

SN: 125628-.

1шт.

17

02010-20522

BOLT

SN: 125628-UP

2шт.

18

02310-11020

WASHER

SN: 125628-UP

2шт.

19

6682-73-9430

CLAMP

SN: 125628-UP

1шт.

20

02010-20922

BOLT

SN: 125628-UP

1шт.

21

02310-01836

WASHER

SN: 125628-UP

1шт.

Выбрано товаров: 24