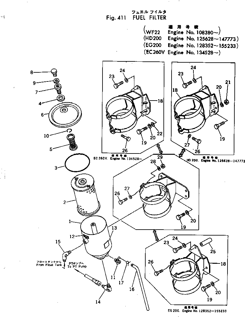
Запчасти Komatsu NTC-743-1C ТОПЛИВН. ФИЛЬТР.(№8-777) ТОПЛИВН. СИСТЕМА

Схема запчастей Komatsu NTC-743-1C - ТОПЛИВН. ФИЛЬТР.(№8-777) ТОПЛИВН. СИСТЕМА
FIT
1:1
100%

Артикул

Название

Примечание

Количество

|$0

6610-71-8005

FUEL FILTER ASS'Y

SN: .-147773

1шт.

|$1

0

FUEL FILTER ASS'Y

SN: 125628-.

1шт.

1

6610-71-8403

BODY

SN: 125628-147773

1шт.

|$3

6610-70-8603

ELEMENT ASS'Y

SN: 125628-147773

1шт.

2

0

CARTRIDGE

SN: 125628-147773

1шт.

3

6610-71-8483

O-RING

SN: 125628-147773

1шт.

4

07005-02216

GASKET

SN: 125628-147773

1шт.

5

6610-71-8541

SPRING

SN: 125628-147773

1шт.

6

6610-71-8512

COVER

SN: 125628-147773

1шт.

|$9

6610-70-8521

CENTER BOLT ASS'Y

SN: 125628-147773

1шт.

7

6631-71-8520

BOLT

SN: .-147773

1шт.

7

0

BOLT

SN: 125628-.

1шт.

8

01010-30812

BOLT

SN: 125628-147773

1шт.

9

6610-71-8690

GASKET

SN: 125628-147773

1шт.

10

6110-21-8531

RING

SN: 125628-147773

1шт.

11

6610-71-8961

VALVE

SN: 125628-147773

1шт.

12

6610-71-8580

PLATE, NAME

SN: 125628-147773

1шт.

13

09630-00100

PLATE, CAUTION

SN: 125628-147773

1шт.

14

6600-02-3210

ELBOW

SN: 125628-147773

1шт.

15

6610-71-8490

ELBOW

SN: 125628-147773

1шт.

16

07270-00850

TUBE

SN: 125628-147773

1шт.

17

04059-01012

WIRE

SN: 125628-147773

1шт.

18

6643-21-6512

BRACKET

SN: 125628-147773

1шт.

19

01010-31430

BOLT

SN: 125628-147773

2шт.

20

01602-01442

WASHER

SN: 125628-147773

2шт.

21

01580-01411

NUT

SN: 125627-147773

2шт.

23

01010-30820

BOLT

SN: 125628-147773

1шт.

24

01602-00825

WASHER

SN: 125826-147773

1шт.

26

01010-30835

BOLT

SN: 125628-147773

2шт.

27

01602-00825

WASHER

SN: 125628-147773

2шт.

Выбрано товаров: 0