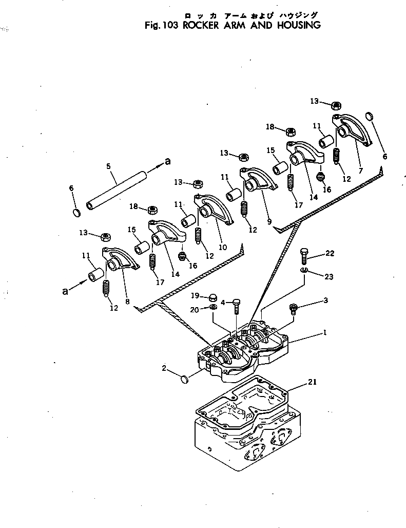
Запчасти Komatsu NTC-743-1E КОРОМЫСЛО И КОЖУХ ГОЛОВКА ЦИЛИНДРОВ

Схема запчастей Komatsu NTC-743-1E - КОРОМЫСЛО И КОЖУХ ГОЛОВКА ЦИЛИНДРОВ
FIT
1:1
100%

Артикул

Название

Примечание

Количество

|$0

6685-11-7010

HOUSING ASS'Y

SN: 125628-UP

3шт.

|$1

6610-11-7020

HOUSING ASS'Y

SN: 108380-UP

1шт.

1

6610-11-7110

HOUSING

SN: 108380-UP

1шт.

2

6710-11-7150

PLUG

SN: 108380-UP

2шт.

3

6610-11-7140

PLUG

SN: 108380-UP

1шт.

4

6710-11-7330

SCREW

SN: 108380-UP

1шт.

5

6610-41-5020

SHAFT ASS'Y

SN: 108380-UP

1шт.

6

6610-41-5220

PLUG

SN: 108380-UP

2шт.

|$8

6610-41-5030

ARM ASS'Y,EXHAUST

SN: 108380-UP

2шт.

|$9

6610-41-5050

ARM ASS'Y,INTAKE

SN: 108380-UP

2шт.

|$10

6610-41-5040

ARM ASS'Y,EXHAUST

SN: 108380-UP

1шт.

|$11

6610-41-5060

ARM ASS'Y,INTAKE

SN: 108380-UP

1шт.

7

0

ARM,EXHAUST, NO.1,3,5

SN: 108380-UP

1шт.

8

0

ARM,EXHAUST, NO.2,4,6

SN: 125628-UP

1шт.

9

0

ARM,INTAKE, NO.1,3,5

SN: 125628-UP

1шт.

10

0

ARM,INTAKE, NO.2,4,6

SN: 125628-UP

1шт.

11

6610-41-5330

BUSHING

SN: 108380-UP

1шт.

12

6610-41-5350

SCREW

SN: 108380-UP

1шт.

13

6610-41-5360

NUT

SN: 108380-UP

1шт.

|$19

6610-41-5070

ARM ASS'Y,INJECTOR

SN: 125628-UP

2шт.

14

6610-41-5080

ARM ASS'Y

SN: 108380-UP

1шт.

15

6710-41-5531

BUSHING

SN: ..-UP

1шт.

15

0

BUSHING

SN: 108380-.

1шт.

15

0

BUSHING

SN: .-..

1шт.

16

6610-41-5540

SOCKET

SN: 108380-UP

1шт.

17

6610-41-5550

SCREW

SN: 125628-UP

1шт.

18

6600-01-2510

NUT

SN: 108380-UP

1шт.

19

6610-11-7310

CAP

SN: 108380-UP

3шт.

20

6610-11-7320

GASKET (KIT)

SN: 108380-UP

3шт.

21

6610-11-7811

GASKET (KIT)

SN: 108380-UP

3шт.

22

02010-20889

BOLT

SN: 108380-UP

19шт.

23

02310-11632

WASHER

SN: 108380-UP

19шт.

Выбрано товаров: 32