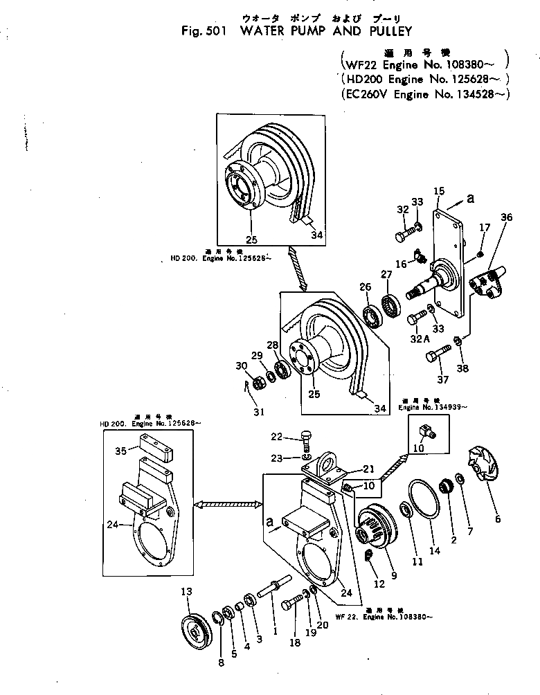
Запчасти Komatsu NTC-743-1E ВОДЯНАЯ ПОМПА И ШКИВ СИСТЕМА ОХЛАЖДЕНИЯ

Схема запчастей Komatsu NTC-743-1E - ВОДЯНАЯ ПОМПА И ШКИВ СИСТЕМА ОХЛАЖДЕНИЯ
FIT
1:1
100%

Артикул

Название

Примечание

Количество

|$0

6676-63-1014

WATER PUMP ASS'Y

SN: 108380-134938

1шт.

|$1

6676-63-1015

WATER PUMP ASS'Y

SN: 134939-UP

1шт.

|$2

6685-61-1024

WATER PUMP ASS'Y

SN: 108380-UP

1шт.

1

6610-61-1310

SHAFT

SN: 108380-UP

1шт.

2

6610-61-1511

SEAL, WATER (KIT)

SN: 108380-142715

1шт.

2

6610-61-1512

SEAL, WATER (KIT)

SN: 142716-UP

1шт.

3

6600-01-1221

BEARING

SN: 108380-UP

1шт.

4

6610-61-1130

SPACER

SN: 108380-UP

1шт.

5

6600-01-1231

BEARING

SN: 108380-UP

1шт.

6

6610-61-1321

IMPELLER

SN: 108380-UP

1шт.

7

6610-61-1331

SEAT (KIT)

SN: 108380-142715

1шт.

8

6610-61-1120

RING

SN: 108380-UP

1шт.

9

6671-61-1111

BODY

SN: 108380-UP

1шт.

10

02720-20204

PLUG

SN: 108380-134938

1шт.

10

6671-61-1930

NIPPLE

SN: 134939-UP

1шт.

10A

07029-00000

VALVE

SN: 134939-UP

1шт.

11

6610-69-1210

FILTER (KIT)

SN: 108380-UP

1шт.

12

6600-02-3850

NIPPLE

SN: 108380-UP

1шт.

13

6623-61-1350

PULLEY

SN: 108380-UP

1шт.

14

6610-61-1810

GASKET (KIT)

SN: 108380-UP

1шт.

14

6667-61-1010

BRACKET ASS'Y

SN: 134528-UP

1шт.

15

6667-61-2120

SHAFT

SN: 134528-UP

1шт.

16

07020-00675

FITTING

SN: 108380-UP

1шт.

17

07043-00108

PLUG

SN: 108380-UP

1шт.

18

02030-30632

BOLT

SN: 108380-UP

6шт.

19

02310-11224

WASHER

SN: 108380-UP

6шт.

20

02300-01226

WASHER

SN: 108380-UP

6шт.

21

6685-61-2222

SUPPORT

SN: 108380-UP

1шт.

22

01010-31230

BOLT

SN: 134528-UP

2шт.

23

01602-01236

WASHER

SN: 108380-UP

2шт.

24

6667-65-1210

BRACKET

SN: 134528-UP

1шт.

|$31

6667-61-2010

FAN HUB ASS'Y

SN: 134528-UP

1шт.

25

6667-61-2110

PULLEY

SN: 134528-UP

1шт.

26

06002-30207

BEARING

SN: .-UP

1шт.

26

0

BEARING

SN: 108380-.

1шт.

27

07010-00052

SEAL (KIT)

SN: 108380-UP

1шт.

28

06002-30206

BEARING

SN: .-UP

1шт.

28

0

BEARING

SN: 108380-.

1шт.

29

01643-02245

WASHER

SN: 108380-UP

1шт.

30

01590-02226

NUT,(FOR HIGH SPEED FAN)

SN: 108380-UP

1шт.

31

04050-05040

PIN

SN: 108380-UP

1шт.

32

01010-31440

BOLT

SN: 134528-UP

2шт.

32A

01010-31425

BOLT

SN: 134528-UP

2шт.

33

01602-01442

WASHER

SN: 108380-UP

4шт.

34

600-736-8260

V-BELT SET

SN: 134528-UP

1шт.

36

6667-61-1260

SPACER

SN: 134528-UP

1шт.

37

02031-20721

BOLT

SN: 134528-UP

3шт.

38

01602-01134

WASHER

SN: 134528-UP

3шт.

Выбрано товаров: 48