Запчасти Komatsu NTC-743-1E МАСЛЯНЫЙ ПОДДОН БЛОК ЦИЛИНДРОВ

Схема запчастей Komatsu NTC-743-1E - МАСЛЯНЫЙ ПОДДОН БЛОК ЦИЛИНДРОВ
FIT
1:1
100%

Артикул

Название

Примечание

Количество

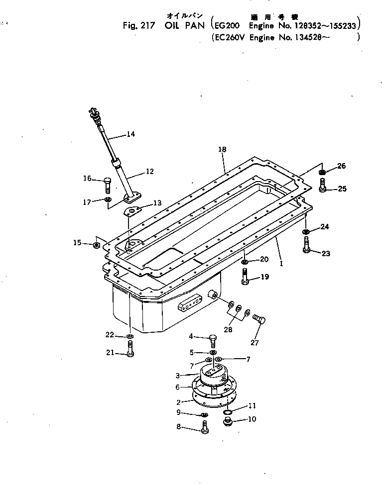
1

6689-22-5110

PAN

SN: 134528-UP

1шт.

2

6685-21-5611

COVER

SN: 134528-UP

1шт.

3

6685-21-5511

SCREEN

SN: 134528-UP

1шт.

4

01050-31016

BOLT

SN: 134528-UP

1шт.

5

01602-01030

WASHER

SN: 134528-UP

1шт.

6

6685-21-5620

GASKET (KIT)

SN: 134528-UP

1шт.

7

6685-21-5540

GASKET (KIT)

SN: 134528-UP

2шт.

8

01050-31020

BOLT

SN: 134528-UP

8шт.

9

01602-01030

WASHER

SN: 134528-UP

8шт.

10

07044-13620

PLUG

SN: 134528-UP

1шт.

11

07000-03032

O-RING (KIT)

SN: 134528-UP

1шт.

12

6679-21-5430

GUIDE

SN: 134528-UP

1шт.

|12

0

GUIDE

SN: 134528-UP

1шт.

13

6679-21-5420

GASKET (KIT)

SN: 134528-UP

1шт.

14

6679-21-5301

OIL GAUGE ASS'Y

SN: 134528-UP

1шт.

15

01580-01008

NUT

SN: 134528-UP

2шт.

16

01010-31040

BOLT

SN: 134528-UP

2шт.

17

01602-01030

WASHER

SN: 134528-UP

2шт.

18

6623-21-5812

GASKET (KIT)

SN: 134528-UP

1шт.

|18

0

GASKET (KIT)

SN: 134528-UP

1шт.

19

02010-30732

BOLT

SN: 134528-UP

4шт.

20

01602-01134

WASHER

SN: 134528-UP

4шт.

21

6610-21-5720

BOLT

SN: 134528-UP

27шт.

22

01602-01134

WASHER

SN: 134528-UP

26шт.

23

02010-30732

BOLT

SN: 134528-UP

4шт.

24

01602-01134

WASHER

SN: 134528-UP

4шт.

25

02030-30744

BOLT

SN: 134528-UP

2шт.

26

01602-01134

WASHER

SN: 134528-UP

2шт.

27

07040-11612

PLUG

SN: 134528-UP

1шт.

28

07003-11621

GASKET (KIT)

SN: 134528-UP

3шт.

Выбрано товаров: 30