Запчасти Komatsu NTO-6-B-1A КРЫШКА КОРОМЫСЛА(№88-87) ГОЛОВКА ЦИЛИНДРОВ

Схема запчастей Komatsu NTO-6-B-1A - КРЫШКА КОРОМЫСЛА(№88-87) ГОЛОВКА ЦИЛИНДРОВ
FIT
1:1
100%

Артикул

Название

Примечание

Количество

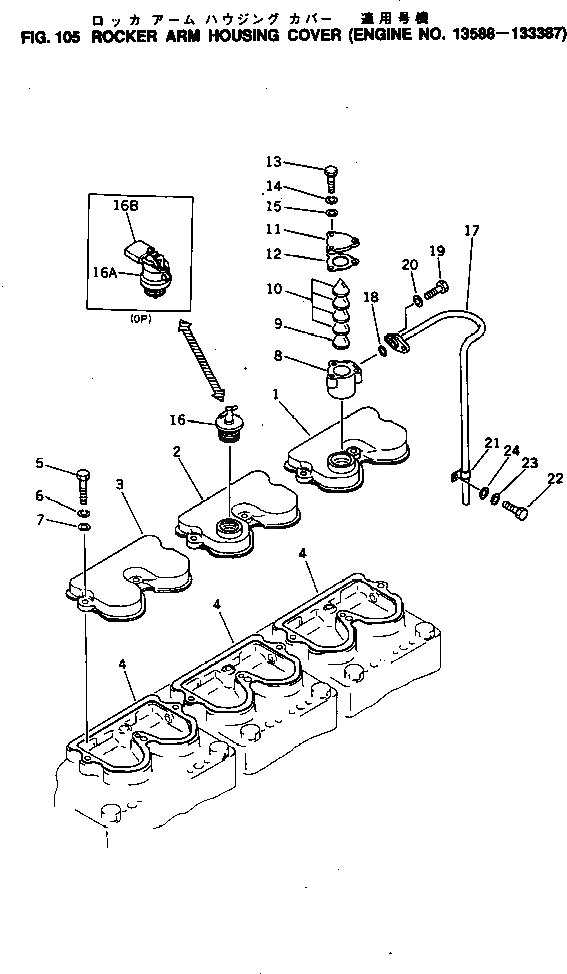
1

6610-11-8110

COVER,ROCKER ARM HOUSING

SN: 13588-@

1шт.

2

6684-11-8130

COVER,ROCKER ARM HOUSING

SN: 13588-@

1шт.

3

6610-11-8120

COVER,ROCKER ARM HOUSING

SN: 13588-@

1шт.

4

6610-11-8810

GASKET (K1)

SN: 13588-@

3шт.

5

02010-20632

BOLT

SN: 13588-@

9шт.

6

02310-11224

WASHER,SPRING

SN: 13588-@

9шт.

7

02300-11320

WASHER

SN: 13588-@

9шт.

|$7

6685-21-7400

BREATHER ASS'Y,CRANKCASE

SN: 13588-@

1шт.

8

6685-21-7410

BODY,BREATHER

SN: 13588-@

1шт.

9

6685-21-7460

BAFFLE

SN: 13588-@

1шт.

10

6685-21-7440

SCREEN

SN: 13588-@

4шт.

11

6685-21-7420

COVER

SN: 13588-@

1шт.

12

6685-21-7430

GASKET (K1)

SN: 13588-@

1шт.

13

02010-20422

BOLT

SN: 13588-@

3шт.

14

02310-10916

WASHER,SPRING

SN: 13588-@

3шт.

15

02300-10920

WASHER

SN: 13588-@

3шт.

16

6684-21-7200

CAP ASS'Y

SN: 13588-@

1шт.

|$17

600-031-1050

CAP ASS'Y (OP)

SN: 13588-@

1шт.

16A

600-031-1060

CAP (OP)

SN: 13588-@

1шт.

16B

600-031-1090

LOCK (OP)

SN: 13588-@

1шт.

17

6686-23-7610

PIPE,BREATHER

SN: 13588-133387

1шт.

18

07000-03020

O-RING (K1)

SN: .-@

1шт.

18

0

O-RING (K1)

SN: 13588-.

1шт.

19

02010-20522

BOLT

SN: 13588-@

2шт.

20

02310-11020

WASHER,SPRING

SN: 13588-@

2шт.

21

6685-21-7641

CLIP

SN: 13588-133387

1шт.

22

02010-20616

BOLT

SN: 13588-133387

1шт.

23

02310-11224

WASHER,SPRING

SN: 13588-133387

1шт.

24

01641-21223

WASHER

SN: 13588-133387

1шт.

Выбрано товаров: 29