Запчасти Komatsu NTO-6-CI-1B МЕХ-М ОТБОРА МОЩНОСТИ (/) БЛОК ЦИЛИНДРОВ

Схема запчастей Komatsu NTO-6-CI-1B - МЕХ-М ОТБОРА МОЩНОСТИ (/) БЛОК ЦИЛИНДРОВ
FIT
1:1
100%

Артикул

Название

Примечание

Количество

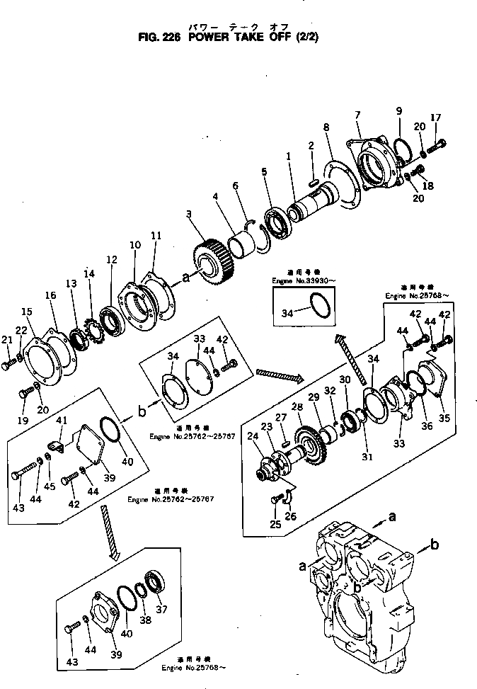
1

6657-22-4510

SHAFT,PUMP DRIVE

SN: 25762-UP

1шт.

2

04000-01850

KEY

SN: 25762-UP

1шт.

3

6631-21-4520

GEAR

SN: 25762-UP

1шт.

4

6631-21-4550

SPACER

SN: 25762-UP

1шт.

5

06000-06214

BEARING

SN: 25762-UP

1шт.

6

04065-01240

RING,SNAP

SN: 25762-UP

1шт.

7

6657-22-4530

CASE,BEARING

SN: 25762-UP

1шт.

8

6631-21-4750

GASKET (K4)

SN: 25762-UP

1шт.

9

07000-02085

O-RING (K4)

SN: 25762-UP

1шт.

10

6631-21-4580

CASE,BEARING

SN: 25762-UP

1шт.

11

6631-21-4671

GASKET (K4)

SN: 33930-UP

1шт.

11

0

GASKET

SN: 25762-33929

1шт.

12

06001-00213

BEARING

SN: 25762-UP

1шт.

13

01530-06214

NUT,RING

SN: 25762-UP

1шт.

14

01658-26223

WASHER,LOCK (K4)

SN: 25762-UP

1шт.

15

6631-21-4560

COVER

SN: 25762-UP

1шт.

16

6631-21-4761

GASKET (K4)

SN: 33930-UP

1шт.

16

0

GASKET (K4)

SN: 25762-33929

1шт.

17

01010-31230

BOLT

SN: 25762-UP

6шт.

18

01010-31245

BOLT

SN: 25762-UP

4шт.

19

01010-31240

BOLT

SN: 35772-UP

4шт.

19

01010-31240

BOLT

SN: 25762-35771

6шт.

20

01602-01236

WASHER,SPRING

SN: 35772-UP

14шт.

20

01602-01236

WASHER,SPRING

SN: 25762-35771

16шт.

21

01010-31235

BOLT

SN: 35772-UP

2шт.

22

01650-01212

WASHER,LOCK (K4)

SN: 35772-UP

2шт.

23

6631-21-4610

SHAFT,(A)

SN: 25768-UP

1шт.

24

6657-22-4640

SHAFT,(B)

SN: 25768-UP

1шт.

25

01010-30820

BOLT

SN: 25768-UP

6шт.

26

6631-21-4690

PLATE,LOCK (K4)

SN: 25768-UP

3шт.

27

04000-01235

KEY

SN: 25768-UP

1шт.

28

6631-21-4620

GEAR,PUMP DRIVE

SN: 25768-UP

1шт.

29

6631-21-4650

SPACER

SN: 25768-UP

1шт.

30

06000-06209

BEARING

SN: 25768-UP

1шт.

31

04064-04518

RING,SNAP

SN: 25768-UP

1шт.

32

04065-08530

RING,SNAP

SN: 25768-UP

1шт.

33

6631-21-4630

CASE,BEARING

SN: 25768-UP

1шт.

33

6657-22-4630

COVER

SN: 25762-25767

1шт.

34

07000-02095

O-RING (K4)

SN: 33930-UP

1шт.

34

6631-21-4680

GASKET (K4)

SN: 25762-33929

1шт.

35

6657-22-4272

COVER

SN: 105625-UP

1шт.

35

0

COVER

SN: 25768-105624

1шт.

36

07000-02070

O-RING (K4)

SN: 25768-UP

1шт.

37

06000-06208

BEARING

SN: 25768-UP

1шт.

38

04064-04018

RING,SNAP

SN: 35768-UP

1шт.

39

6657-22-4651

CASE,BEARING

SN: .-UP

1шт.

39

6657-22-4650

CASE,BEARING

SN: 25768-.

1шт.

39

6657-22-4660

CASE,BEARING

SN: 25762-25767

1шт.

40

07000-03088

O-RING (K4)

SN: 25762-UP

1шт.

41

6657-92-4310

BRACKET

SN: 25762-25767

1шт.

42

01040-31025

BOLT

SN: 25768-UP

7шт.

42

01010-31025

BOLT

SN: 25762-25767

7шт.

43

01040-31030

BOLT

SN: 25768-UP

4шт.

43

01010-31030

BOLT

SN: 25762-25767

1шт.

44

01602-01030

WASHER,SPRING

SN: 25768-UP

11шт.

44

01602-01030

WASHER,SPRING

SN: 25762-25767

8шт.

45

01640-31016

WASHER

SN: 25762-25767

1шт.

Выбрано товаров: 57