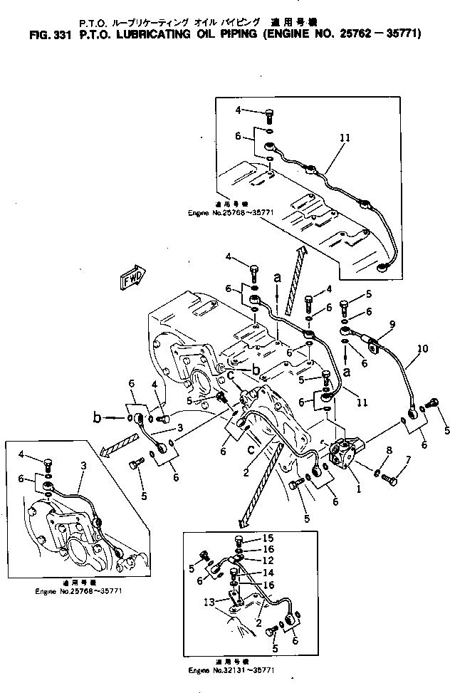
Запчасти Komatsu NTO-6-CI-1B МЕХ-М ОТБОРА МОЩН-ТИ СИСТЕМА СМАЗКИ МАСЛОПРОВОДЯЩАЯ ЛИНИЯ(№7-77) СИСТЕМА СМАЗКИ МАСЛ. СИСТЕМА

Схема запчастей Komatsu NTO-6-CI-1B - МЕХ-М ОТБОРА МОЩН-ТИ СИСТЕМА СМАЗКИ МАСЛОПРОВОДЯЩАЯ ЛИНИЯ(№7-77) СИСТЕМА СМАЗКИ МАСЛ. СИСТЕМА
FIT
1:1
100%

Артикул

Название

Примечание

Количество

1

6657-52-9512

CONNECTOR

SN: 33930-35771

1шт.

1

6657-52-9510

CONNECTOR

SN: 25762-33929

1шт.

2

6657-52-9541

PIPE

SN: 32131-35771

1шт.

2

0

PIPE

SN: 25762-32130

1шт.

3

6658-51-9551

PIPE

SN: 32131-35771

1шт.

3

0

PIPE

SN: 25768-32130

1шт.

3

0

PIPE

SN: 25762-25767

1шт.

4

6631-51-9590

BOLT,JOINT

SN: 25768-35771

5шт.

4

6631-51-9590

BOLT,JOINT

SN: 25762-25767

3шт.

5

6631-51-9580

BOLT,JOINT

SN: 25762-35771

6шт.

6

07000-02012

O-RING (K2)

SN: 25768-35771

22шт.

6

07000-02012

O-RING (K2)

SN: 25762-25767

18шт.

7

01010-31030

BOLT

SN: 25762-35771

2шт.

8

01602-01030

WASHER,SPRING

SN: 25762-35771

2шт.

9

6631-51-9680

CLAMP

SN: 25762-35771

1шт.

10

6631-51-9520

PIPE

SN: 25762-35771

1шт.

11

6656-54-9530

PIPE

SN: 32131-35771

1шт.

11

0

PIPE

SN: 25768-32130

1шт.

11

6657-52-9530

PIPE

SN: 25762-25767

1шт.

12

6656-54-9680

CLAMP

SN: 32131-35771

1шт.

13

6657-52-9690

PLATE

SN: 32131-35771

1шт.

14

01010-31016

BOLT

SN: 32131-35771

1шт.

15

01010-31025

BOLT

SN: 32131-35771

1шт.

16

01602-01030

WASHER,SPRING

SN: 32131-35771

2шт.

Выбрано товаров: 24