Запчасти Komatsu NTO-6-CI-1D МАСЛЯНЫЙ ПОДДОН(№-78) БЛОК ЦИЛИНДРОВ

Схема запчастей Komatsu NTO-6-CI-1D - МАСЛЯНЫЙ ПОДДОН(№-78) БЛОК ЦИЛИНДРОВ
FIT
1:1
100%

Артикул

Название

Примечание

Количество

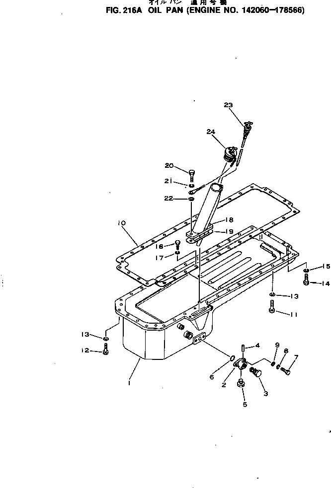
1

6632-21-5111

PAN,OIL

SN: 142060-178566

1шт.

|$1

6693-22-5600

VALVE ASS'Y

SN: 134677-@

1шт.

2

6693-22-5610

BODY

SN: 134677-@

1шт.

3

6693-22-5620

VALVE

SN: 134677-@

1шт.

4

04020-00514

PIN,DOWEL

SN: 134677-@

1шт.

5

07040-02412

PLUG

SN: 134677-@

1шт.

6

07000-63028

O-RING (K2)

SN: 134677-@

1шт.

7

01010-31030

BOLT

SN: 134677-@

2шт.

8

01602-01030

WASHER,SPRING

SN: 134677-@

2шт.

9

01640-21016

WASHER

SN: 134677-@

2шт.

10

6623-21-5812

GASKET (K2)

SN: 134677-@

1шт.

11

6610-21-5720

BOLT

SN: 134677-@

27шт.

12

02010-10732

BOLT

SN: 134677-@

4шт.

13

01602-01134

WASHER,SPRING

SN: 134677-@

31шт.

14

02030-70529

BOLT

SN: 134677-@

4шт.

15

02310-11020

WASHER,SPRING

SN: 134677-@

4шт.

16

01010-30830

BOLT

SN: 134677-@

1шт.

17

01602-00825

WASHER

SN: 134677-@

1шт.

18

6693-22-5411

BRACKET

SN: 134677-178566

1шт.

19

6643-21-5421

GASKET (K2)

SN: 134677-@

1шт.

20

01010-31235

BOLT

SN: 134677-@

2шт.

21

01602-01236

WASHER,SPRING

SN: 134677-@

2шт.

22

01641-21223

WASHER

SN: 134677-@

1шт.

23

6693-22-5302

OIL GAUGE ASS'Y

SN: 134677-178566

1шт.

24

07025-00100

CAP

SN: 134677-178566

1шт.

Выбрано товаров: 25