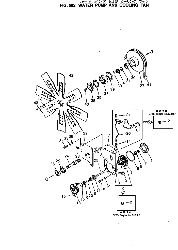
Запчасти Komatsu NTO-6-CI-1D ВОДЯНАЯ ПОМПА И ВЕНТИЛЯТОР ОХЛАЖДЕНИЯ ОХЛАЖД-Е И ЭЛЕКТРИКАS

Схема запчастей Komatsu NTO-6-CI-1D - ВОДЯНАЯ ПОМПА И ВЕНТИЛЯТОР ОХЛАЖДЕНИЯ ОХЛАЖД-Е И ЭЛЕКТРИКАS
FIT
1:1
100%

Артикул

Название

Примечание

Количество

|$0

6691-61-1300

WATER PUMP ASS'Y

SN: 134677-UP

1шт.

|$1

6685-61-1024

WATER PUMP ASS'Y

SN: 134677-UP

1шт.

1

6671-61-1111

BODY,WATER PUMP

SN: 134677-UP

1шт.

2

02720-20204

PLUG

SN: 178567-UP

2шт.

2

6691-61-1930

NIPPLE

SN: 134677-178566

1шт.

3

07029-00000

VALVE,GREASE

SN: .-178566

1шт.

3

0

VALVE,GREASE

SN: 134677-.

1шт.

4

6610-61-1310

SHAFT,WATER PUMP

SN: 134677-UP

1шт.

5

6610-61-1321

IMPELLER,WATER PUMP

SN: 134677-UP

1шт.

6

6610-61-1512

SEAL, WATER (K3)

SN: 138794-UP

1шт.

6

0

SEAL, WATER (K3)

SN: 134677-138793

1шт.

7

6610-61-1331

SEAT (K3)

SN: 134677-138793

1шт.

8

6600-01-1221

BEARING

SN: 134677-UP

1шт.

9

6600-01-1231

BEARING

SN: 134677-UP

1шт.

10

6610-61-1130

SPACER

SN: 134677-UP

1шт.

11

6610-69-1210

FILTER,DUST (K3)

SN: 134677-UP

1шт.

12

6610-61-1120

RING,SNAP

SN: 134677-UP

1шт.

13

6623-61-1350

PULLEY,WATER PUMP

SN: 134677-UP

1шт.

14

6631-61-1921

NIPPLE

SN: 134677-178566

1шт.

15

6610-61-1810

GASKET (K3)

SN: 134677-UP

1шт.

16

04120-21948

V-BELT,WATER PUMP

SN: 178567-UP

1шт.

16

04120-21949

V-BELT,WATER PUMP

SN: 134677-178566

1шт.

17

6693-63-1211

BRACKET

SN: 178567-UP

1шт.

17

6693-63-1210

BRACKET

SN: 134677-178566

1шт.

18

02030-20632

BOLT

SN: 134677-UP

6шт.

19

02310-11224

WASHER,SPRING

SN: 134677-UP

6шт.

20

6631-61-1911

PIPE,GREASE

SN: 134677-178566

1шт.

21

07020-00900

FITTING,GREASE

SN: 134677-178566

1шт.

|$28

6693-63-2020

FUN HUB ASS'Y

SN: 134677-UP

1шт.

|$29

6693-63-2050

FUN HUB ASS'Y,(FOR ALGERIA)

SN: 143220-UP

1шт.

22

6693-63-2310

SUPPORT

SN: 134677-UP

1шт.

23

07020-00000

FITTING,GREASE

SN: 134677-UP

1шт.

24

6631-61-2310

SHAFT

SN: 134677-UP

1шт.

25

6610-61-2330

NUT

SN: 134677-UP

1шт.

26

6100-21-1130

PLUG

SN: 134677-UP

1шт.

27

6693-63-2111

PULLEY,FAN

SN: 134677-UP

1шт.

27

6693-63-2150

PULLEY,(FOR ALGERIA)

SN: 143220-UP

1шт.

28

6671-61-2141

BEARING

SN: 134677-UP

1шт.

29

6610-61-2170

SEAL,OIL (K2)

SN: 134677-UP

1шт.

30

6610-61-2151

BEARING

SN: 134677-UP

1шт.

31

6671-61-2360

WASHER

SN: 134677-UP

1шт.

32

6610-61-2350

NUT

SN: 134677-UP

1шт.

33

6600-01-3420

PIN,COTTER (K2)

SN: 134677-UP

1шт.

34

01010-31235

BOLT

SN: 134677-UP

4шт.

35

01602-01236

WASHER,SPRING

SN: 134677-UP

4шт.

36

01643-31232

WASHER

SN: 134677-UP

4шт.

37

6693-63-2440

SPACER

SN: 134677-UP

1шт.

38

6631-61-2411

SPACER

SN: 134677-UP

1шт.

39

6671-61-2420

GASKET (K2)

SN: 134677-UP

2шт.

40

6127-61-3890

VALVE,GREASE

SN: 134677-UP

1шт.

41

04121-22278

V-BELT SET,FAN

SN: 134677-178566

1шт.

41

04121-22279

V-BELT SET,FAN

SN: 178567-UP

1шт.

41

04121-22276

V-BELT SET,(FOR ALGERIA)

SN: 143320-UP

1шт.

42

600-633-3900

FAN

SN: 161543-UP

1шт.

42

0

FAN

SN: 134677-161542

1шт.

43

02011-20602

BOLT

SN: 134677-UP

6шт.

44

02310-11224

WASHER,SPRING

SN: 134677-UP

6шт.

Выбрано товаров: 57