Запчасти Komatsu NTO-6-CI-1D COMPRESSION RELEASE ГОЛОВКА ЦИЛИНДРОВ

Схема запчастей Komatsu NTO-6-CI-1D - COMPRESSION RELEASE ГОЛОВКА ЦИЛИНДРОВ
FIT
1:1
100%

Артикул

Название

Примечание

Количество

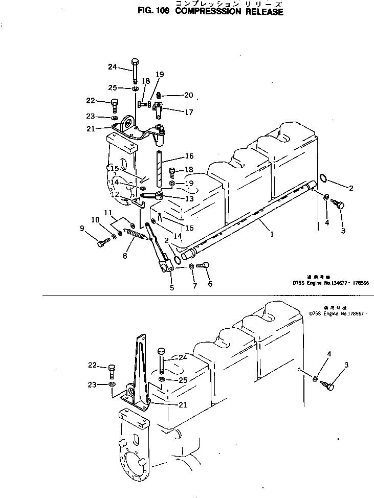
1

6623-41-8113

SHAFT,COMPRESSION RELEASE

SN: 134677-178566

1шт.

2

02891-02016

O-RING (K1)

SN: 134677-178566

2шт.

3

6610-41-8710

BOLT

SN: 134677-UP

1шт.

4

6600-01-2620

WASHER

SN: 134677-UP

1шт.

5

6610-41-8210

LEVER,COMPRESSION RELEASE

SN: 134677-178566

1шт.

6

02010-20638

BOLT

SN: 134677-178566

1шт.

7

02310-11224

WASHER,SPRING

SN: 134677-178566

1шт.

8

6610-41-8220

SPRING

SN: 134677-178566

1шт.

9

02030-20516

BOLT

SN: 134677-178566

1шт.

10

02310-11020

WASHER,SPRING

SN: 134677-178566

1шт.

11

02300-11120

WASHER

SN: 134677-178566

2шт.

12

6610-41-8370

LINK

SN: 134677-178566

1шт.

13

6610-49-8361

LEVER

SN: 134677-178566

1шт.

14

02300-10920

WASHER

SN: 134677-178566

2шт.

15

6600-01-3410

PIN,COTTER (K1)

SN: 134677-178566

2шт.

16

6693-42-8350

SHAFT,LEVER

SN: 134677-178566

1шт.

17

6672-42-8411

LEVER

SN: 134677-178566

1шт.

18

01010-30835

BOLT

SN: 134677-178566

2шт.

19

01602-00825

WASHER,SPRING

SN: 134677-178566

2шт.

20

07042-00108

PLUG

SN: 134677-178566

1шт.

21

6693-23-6540

BRACKET

SN: 178567-UP

1шт.

21

6693-23-6520

BRACKET

SN: 134677-178566

1шт.

22

01010-31225

BOLT

SN: 134677-UP

2шт.

23

01602-01236

WASHER,SPRING

SN: 134677-UP

2шт.

24

02011-70802

BOLT

SN: 178567-UP

2шт.

24

02011-70802

BOLT

SN: 134677-178566

3шт.

25

02310-11632

WASHER,SPRING

SN: 178567-UP

2шт.

25

02310-11632

WASHER,SPRING

SN: 134677-178566

3шт.

Выбрано товаров: 28