Запчасти Komatsu NTO-6-CI-1D ВОЗДУХООЧИСТИТЕЛЬ И СОЕДИН-Е (КРОМЕ ЯПОН.) ГОЛОВКА ЦИЛИНДРОВ

Схема запчастей Komatsu NTO-6-CI-1D - ВОЗДУХООЧИСТИТЕЛЬ И СОЕДИН-Е (КРОМЕ ЯПОН.) ГОЛОВКА ЦИЛИНДРОВ
FIT
1:1
100%

Артикул

Название

Примечание

Количество

|$0

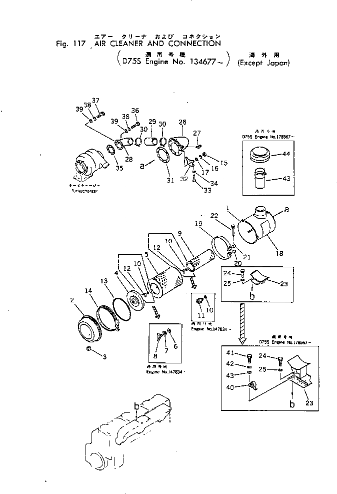
6711-81-7100

AIR CLEANER ASS'Y

SN: 178567-UP

1шт.

|$1

6692-81-7302

AIR CLEANER ASS'Y

SN: 147834-178566

1шт.

|$2

0

AIR CLEANER ASS'Y

SN: 134677-147833

1шт.

1

6711-81-7110

BODY,AIR CLEANER

SN: 178567-UP

1шт.

1

6692-81-7310

BODY,AIR CLEANER

SN: 134677-178566

1шт.

2

6710-82-7121

CUP

SN: 134677-UP

1шт.

3

600-181-9810

VALVE

SN: 134677-UP

1шт.

4

6710-82-7130

BAFFLE

SN: 134677-UP

1шт.

|$8

6125-81-7032

ELEMENT ASS'Y

SN: 147834-UP

1шт.

|$9

0

ELEMENT ASS'Y

SN: 134677-147833

1шт.

5

600-181-4300

ELEMENT ASS'Y,OUTER

SN: 147834-UP

1шт.

5

0

ELEMENT,OUTER

SN: 134677-147833

1шт.

5

0

ELEMENT

SN: 147834-UP

1шт.

6

04064-01510

RING,SNAP

SN: 147834-UP

1шт.

7

600-181-4591

WASHER,SEAL

SN: 147834-UP

1шт.

8

600-181-1990

NUT,WING

SN: 147834-UP

1шт.

9

0

ELEMENT,INNER

SN: .-UP

1шт.

9

0

ELEMENT,INNER

SN: 134677-.

1шт.

10

600-181-7511

WASHER,SEAL

SN: 147834-UP

1шт.

10

600-181-4591

WASHER,SEAL

SN: 134677-147833

2шт.

11

600-181-9671

NUT

SN: 147834-UP

1шт.

12

600-181-4581

NUT,WING

SN: 134677-147833

2шт.

13

6127-81-7190

O-RING

SN: 134677-UP

1шт.

14

600-181-1490

CLAMP

SN: 134677-UP

1шт.

15

01580-01008

NUT

SN: 134677-UP

8шт.

16

01602-01030

WASHER,SPRING

SN: 134677-UP

8шт.

17

01642-21016

WASHER

SN: 134677-UP

8шт.

18

09641-00160

PLATE, INSTRUCTION,(JAPANESE-ENGLISH)

SN: 134677-UP

1шт.

18

09641-20260

PLATE, INSTRUCTION,(ENGLISH-FRENCH)

SN: 134677-UP

1шт.

19

6691-13-4610

BAND ASS'Y

SN: 134677-UP

1шт.

20

6691-21-6550

PIN

SN: 134677-UP

1шт.

21

6691-21-6560

PIN, WITH THREAD

SN: 134677-UP

1шт.

22

6643-11-4641

BOLT

SN: 134677-UP

1шт.

23

6693-13-4560

BRACKET,AIR CLEANER

SN: 178567-UP

1шт.

23

6693-13-4530

BRACKET,AIR CLEANER

SN: 134677-178566

1шт.

24

02010-20622

BOLT

SN: 134677-UP

4шт.

25

02310-11224

WASHER,SPRING

SN: 134677-UP

4шт.

26

6693-13-4240

CONNECTOR,AIR

SN: 134677-UP

1шт.

27

08671-50721

ELBOW

SN: 134677-UP

1шт.

28

6693-13-4250

CONNECTOR,AIR

SN: 134677-UP

1шт.

29

6693-12-4351

HOSE

SN: 134677-UP

1шт.

30

07281-01159

CLAMP

SN: 134677-UP

2шт.

31

6127-81-4821

GASKET (K1)

SN: .-UP

1шт.

31

0

GASKET (K1)

SN: 134677-.

1шт.

32

6693-13-4540

BRACKET

SN: 134677-UP

1шт.

33

01010-31020

BOLT

SN: 134677-UP

2шт.

34

01602-01030

WASHER,SPRING

SN: 134677-UP

2шт.

35

6655-12-4830

GASKET (K1)

SN: 134677-UP

1шт.

36

02010-70525

BOLT

SN: 134677-UP

7шт.

37

02010-70522

BOLT

SN: 134677-UP

1шт.

38

01602-00825

WASHER,SPRING

SN: 134677-UP

8шт.

39

01640-20816

WASHER

SN: 134677-UP

8шт.

40

600-815-2690

SWITCH,HEATER

SN: 178567-UP

1шт.

41

01010-30816

BOLT

SN: 178567-UP

2шт.

42

01602-00825

WASHER,SPRING

SN: 178567-UP

2шт.

43

01642-20810

WASHER

SN: 178567-UP

2шт.

44

6711-81-7910

CONNECTOR

SN: 178567-UP

1шт.

45

600-181-1510

CAP

SN: 178567-UP

1шт.

Выбрано товаров: 58