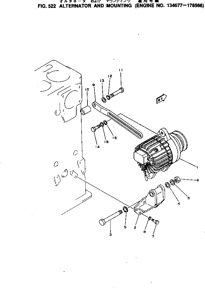
Запчасти Komatsu NTO-6-CI-1D ГЕНЕРАТОР И КРЕПЛЕНИЕ(№77-78) ОХЛАЖД-Е И ЭЛЕКТРИКАS

Схема запчастей Komatsu NTO-6-CI-1D - ГЕНЕРАТОР И КРЕПЛЕНИЕ(№77-78) ОХЛАЖД-Е И ЭЛЕКТРИКАS
FIT
1:1
100%

Артикул

Название

Примечание

Количество

1

600-821-3350

ALTERNATOR A. (13A)

SN: 134677-178566

1шт.

2

6631-22-6320

BRACKET

SN: 134677-178566

1шт.

3

6112-21-6580

BOLT

SN: 134677-178566

1шт.

4

01641-21423

WASHER

SN: 134677-178566

2шт.

5

01602-01442

WASHER,SPRING

SN: 134677-@

1шт.

6

01580-01411

NUT

SN: 134677-@

1шт.

7

02010-70625

BOLT

SN: 134677-@

4шт.

8

01602-00929

WASHER,SPRING

SN: 134677-@

4шт.

9

6691-21-6340

PLATE,ADJUSTING

SN: 134677-178566

1шт.

10

6693-22-6390

SPACER

SN: 134677-178566

1шт.

11

01050-31075

BOLT

SN: 134677-178566

1шт.

12

01602-01030

WASHER,SPRING

SN: 134677-178566

1шт.

13

01641-21020

WASHER

SN: 134677-178566

1шт.

14

01050-31235

BOLT

SN: 134677-178566

1шт.

15

01602-01236

WASHER,SPRING

SN: 134677-@

1шт.

16

01641-21223

WASHER

SN: 134677-@

1шт.

Выбрано товаров: 16