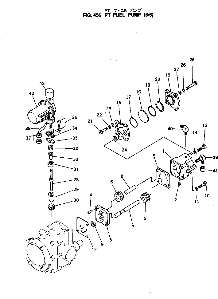
Запчасти Komatsu NTO-6-CI-1G PT ТОПЛИВН. НАСОС (/) ТОПЛИВН. СИСТЕМА

Схема запчастей Komatsu NTO-6-CI-1G - PT ТОПЛИВН. НАСОС (/) ТОПЛИВН. СИСТЕМА
FIT
1:1
100%

Артикул

Название

Примечание

Количество

|1

6689-73-1001

PT FUEL PUMP ASS'Y,(GR-J128)

SN: 132888-UP

1шт.

|1

6684-71-4010

VALVE ASS'Y,SHUTDOWN

SN: 132888-UP

1шт.

|1

6684-71-4100

VALVE ASS'Y,SHUTDOWN

SN: 132888-UP

1шт.

1

0

HOUSING

SN: 132888-UP

1шт.

2

02720-40204

PLUG

SN: 144160-UP

1шт.

|2

0

PLUG

SN: 132888-144159

1шт.

3

6610-71-4221

SHAFT

SN: .-UP

1шт.

|3

6610-71-4220

SHAFT

SN: 132888-.

1шт.

4

6610-71-4230

KNOB

SN: 132888-UP

1шт.

5

6610-71-4241

O-RING (K6)

SN: .-UP

1шт.

|5

6610-71-4240

O-RING (K6)

SN: 132888-.

1шт.

6

6610-71-4140

VALVE,SHUTDOWN

SN: 132888-UP

1шт.

7

6610-71-4130

SPRING

SN: 132888-UP

1шт.

8

6610-71-4160

O-RING (K6)

SN: 132888-UP

1шт.

9

6610-71-4120

SHIELD,FUEL

SN: 132888-UP

1шт.

10

6610-71-4110

COIL,SHUTDOWN VALVE

SN: 132888-UP

1шт.

11

6600-01-2570

NUT

SN: 132888-UP

3шт.

12

02310-00712

WASHER,SPRING

SN: 132888-UP

2шт.

13

02300-00716

WASHER

SN: 132888-UP

2шт.

14

6600-01-2170

BOLT

SN: 132888-UP

4шт.

15

02310-10712

WASHER,SPRING

SN: 132888-UP

4шт.

16

6610-71-3520

O-RING,SEAL (K6)

SN: 132888-UP

1шт.

17

02100-00445

BOLT

SN: 132888-UP

2шт.

18

6610-71-1230

WASHER,SPRING

SN: 132888-UP

2шт.

19

6610-71-1840

WASHER

SN: 132888-UP

2шт.

20

6610-71-4412

CONNECTOR

SN: 132888-UP

1шт.

21

6684-71-3601

SCREEN

SN: 132888-UP

1шт.

23

6610-71-3530

RING,SEAL (K6)

SN: 132888-UP

1шт.

25

6610-71-3830

SPRING,FILTER

SN: 132888-UP

1шт.

27

6684-71-3811

CAP,FILTER

SN: .-UP

1шт.

|27

0

CAP,FILTER

SN: 132888-.

1шт.

Выбрано товаров: 0