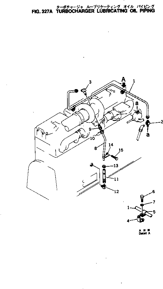
Запчасти Komatsu NTO-6-G-1G ЛИНИЯ СМАЗКИ ТУРБОНАГНЕТАТЕЛЯ СИСТЕМА СМАЗКИ МАСЛ. СИСТЕМА

Схема запчастей Komatsu NTO-6-G-1G - ЛИНИЯ СМАЗКИ ТУРБОНАГНЕТАТЕЛЯ СИСТЕМА СМАЗКИ МАСЛ. СИСТЕМА
FIT
1:1
100%

Артикул

Название

Примечание

Количество

1

6689-82-9550

PIPE

SN: 153945-UP

1шт.

2

6691-51-9880

TEE

SN: 153945-UP

1шт.

3

6656-52-9980

ELBOW

SN: .-UP

1шт.

3

0

ELBOW

SN: 153945-.

1шт.

4

6685-83-9720

BRACKET

SN: 153945-UP

2шт.

5

6693-82-9540

CLAMP

SN: 153945-UP

2шт.

6

01010-30820

BOLT

SN: 153945-UP

2шт.

7

01602-00825

WASHER,SPRING

SN: 153945-UP

2шт.

8

6693-82-9710

PIPE,OIL RETURN

SN: 153945-UP

1шт.

9

6600-02-3264

NIPPLE

SN: 153945-UP

1шт.

10

04059-01020

WIRE,LOCK

SN: 153945-UP

1шт.

11

6685-81-9722

HOSE

SN: 153945-UP

1шт.

12

6600-02-3950

ELBOW

SN: 153945-UP

1шт.

13

07280-03223

CLAMP

SN: 153945-UP

2шт.

14

6685-81-9753

CLIP

SN: 153945-UP

1шт.

15

01010-30610

BOLT

SN: 153945-UP

1шт.

Выбрано товаров: 0