Запчасти Komatsu NTO-6-G-1G ВОДЯНАЯ ПОМПА И ШКИВ ОХЛАЖД-Е И ЭЛЕКТРИКАS

Схема запчастей Komatsu NTO-6-G-1G - ВОДЯНАЯ ПОМПА И ШКИВ ОХЛАЖД-Е И ЭЛЕКТРИКАS
FIT
1:1
100%

Артикул

Название

Примечание

Количество

|$0

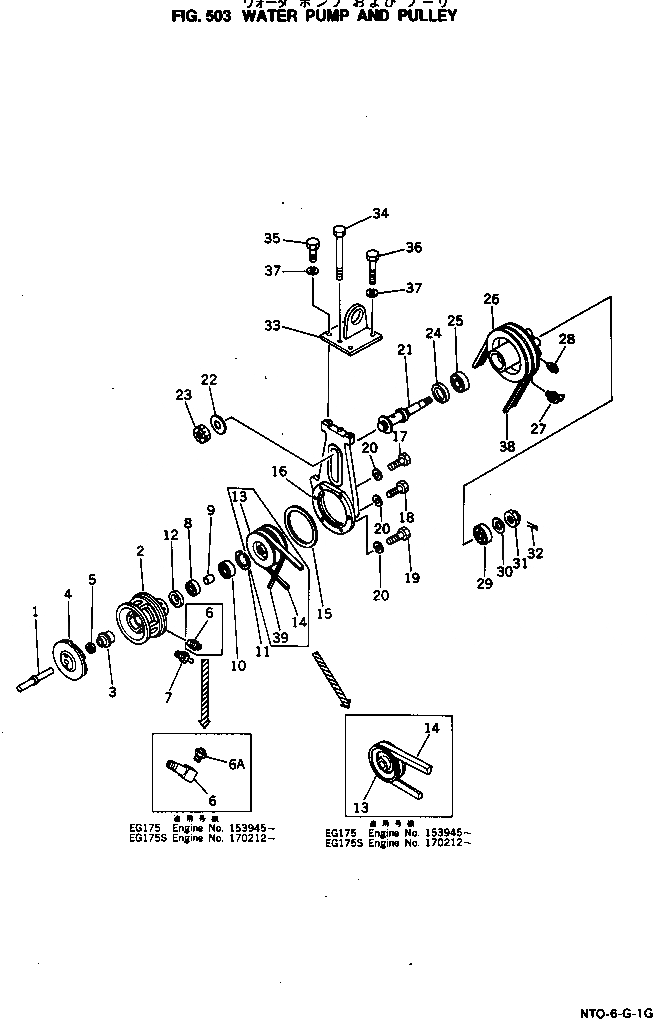
6676-63-1015

WATER PUMP ASS'Y

SN: 153945-UP

1шт.

|$1

6685-61-1023

WATER PUMP ASS'Y

SN: 153945-UP

1шт.

1

6610-61-1310

SHAFT,WATER PUMP

SN: 153945-UP

1шт.

2

6671-61-1111

BODY,WATER PUMP

SN: 153945-UP

1шт.

3

6610-61-1512

SEAL, WATER (K3)

SN: 153945-UP

1шт.

4

6610-61-1321

IMPELLER,WATER PUMP

SN: 153945-UP

1шт.

6

6691-61-1930

NIPPLE

SN: 153945-UP

1шт.

6A

07029-00000

VALVE

SN: 153945-UP

1шт.

8

6600-01-1221

BEARING

SN: 153945-UP

1шт.

9

6610-61-1130

SPACER

SN: 153945-UP

1шт.

10

6600-01-1231

BEARING

SN: 153945-UP

1шт.

11

6610-61-1120

RING,SNAP

SN: 153945-UP

1шт.

12

6610-69-1210

FILTER,DUST (K3)

SN: 153945-UP

1шт.

13

6623-61-1350

PULLEY,WATER PUMP

SN: 153945-UP

1шт.

14

6610-81-6111

V-BELT

SN: 153945-UP

1шт.

14

04120-11914

V-BELT,(COLD WEATHER SPEC.)

SN: 153945-UP

1шт.

15

6610-61-1810

GASKET (K3)

SN: 153945-UP

1шт.

16

6610-61-2210

BRACKET

SN: 153945-UP

1шт.

17

02030-20632

BOLT

SN: 153945-UP

3шт.

18

02030-20651

BOLT

SN: 153945-UP

2шт.

19

02030-30638

BOLT

SN: 153945-UP

1шт.

20

02310-11224

WASHER,SPRING

SN: 153945-UP

6шт.

21

6671-61-2310

SHAFT

SN: 153945-UP

1шт.

22

6671-61-2340

WASHER

SN: 153945-UP

2шт.

23

6610-61-2330

NUT

SN: 153945-UP

1шт.

24

6610-61-2170

SEAL,OIL (K2)

SN: 153945-UP

1шт.

25

6671-61-2141

BEARING

SN: 153945-UP

1шт.

26

6689-61-2110

PULLEY,FAN

SN: 153945-UP

1шт.

26

6689-61-2110

PULLEY,FAN

SN: 150000-150000

1шт.

27

6600-02-3740

NIPPLE

SN: 153945-UP

1шт.

28

02720-10204

PLUG

SN: 150000-150000

1шт.

29

6610-61-2151

BEARING

SN: 153945-UP

1шт.

30

6671-61-2360

WASHER

SN: 153945-UP

1шт.

31

6610-61-2350

NUT

SN: 153945-UP

1шт.

32

6600-01-3420

PIN,COTTER

SN: 153945-UP

1шт.

33

6610-61-2221

BRACKET

SN: 153945-UP

1шт.

34

6610-61-2230

BOLT,ADJUSTING

SN: 153945-UP

1шт.

35

02010-30844

BOLT

SN: 153945-UP

2шт.

36

02010-30895

BOLT

SN: 153945-UP

2шт.

37

02310-11632

WASHER,SPRING

SN: 153945-UP

4шт.

38

04121-22276

V-BELT SET

SN: 153945-UP

1шт.

Выбрано товаров: 41