Запчасти Komatsu NTO-6-G-1G - -

Схема запчастей Komatsu NTO-6-G-1G - - -
FIT
1:1
100%

Артикул

Название

Примечание

Количество

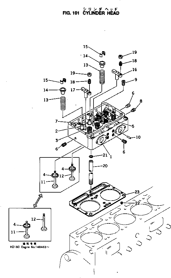
|1

6620-10-1001

HEAD ASS'Y

SN: 153945-UP

3шт.

|1

6620-10-1101

HEAD ASS'Y

SN: 153945-UP

1шт.

1

0

SN: 153945-UP

1шт.

2

6610-11-1311

VALVE GUIDE

SN: 153945-UP

8шт.

|2

0

GUIDE

SN: 153945-UP

8шт.

3

6610-11-1140

GUIDE

SN: 153945-UP

4шт.

4

6610-11-1220

INSERT

SN: 153945-UP

4шт.

|4

6610-19-1220

INSERT

SN: 153945-UP

4шт.

|4

6610-18-1220

INSERT

SN: 153945-UP

4шт.

|4

6610-17-1220

INSERT

SN: 153945-UP

4шт.

|4

6610-16-1220

INSERT

SN: 153945-UP

4шт.

|4

6610-15-1220

INSERT

SN: 153945-UP

4шт.

5

6610-11-1130

SLEEVE

SN: 153945-UP

2шт.

6

02720-41616

PLUG

SN: 153945-UP

6шт.

7

6610-11-1461

PLUG

SN: 153945-UP

2шт.

9

6600-01-1711

PLUG

SN: 153945-UP

1шт.

|9

02720-20204

PLUG

SN: 150000-150000

1шт.

10

6610-11-1420

PIN

SN: 153945-UP

2шт.

11

6610-41-4210

EXHAUST VALVE

SN: 153945-UP

4шт.

12

6610-41-4110

INTAKE VALVE

SN: 153945-UP

4шт.

13

6610-41-4410

VALVE SPRING

SN: 153945-UP

8шт.

14

6610-41-4510

GUIDE

SN: 153945-UP

8шт.

15

6600-01-3910

VALVE COTTER

SN: 153945-UP

16шт.

16

6610-41-5610

CROSSHEAD

SN: 153945-UP

6шт.

17

6610-41-5610

CROSSHEAD

SN: 153945-UP

6шт.

18

6610-41-5620

SCREW

SN: 153945-UP

12шт.

19

6710-41-5630

NUT

SN: 153945-UP

12шт.

20

6610-21-2610

PIPE

SN: 153945-UP

3шт.

21

6610-11-1711

GASKET

SN: 153945-UP

3шт.

23

6610-11-1811

GASKET

SN: 153945-UP

3шт.

|23

6610-11-1840

GROMMET

SN: 153945-UP

1шт.

|23

6610-11-1830

RING

SN: 153945-UP

1шт.

Выбрано товаров: 32