Запчасти Komatsu NTO-6-G-1G - -

Схема запчастей Komatsu NTO-6-G-1G - - -
FIT
1:1
100%

Артикул

Название

Примечание

Количество

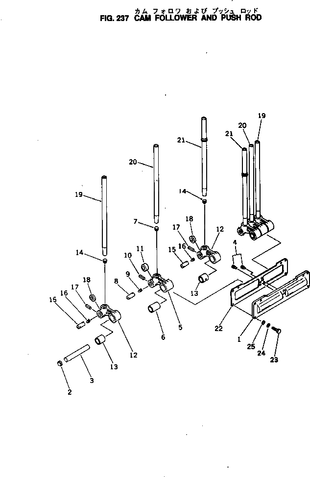
|1

6610-41-2010

HOUSING ASS'Y

SN: 153945-UP

3шт.

|1

6610-41-2020

HOUSING ASS'Y

SN: 153945-UP

1шт.

1

6610-41-2111

HOUSING

SN: 153945-UP

1шт.

2

6610-41-2130

PLUG

SN: 153945-UP

2шт.

3

6610-41-2140

SHAFT

SN: 153945-UP

2шт.

4

6610-41-2120

SCREW

SN: 153945-UP

2шт.

|5

6610-41-2050

LEVER ASS'Y

SN: 153945-UP

2шт.

|5

6610-41-2060

LEVER & BUSHING

SN: 153945-UP

1шт.

5

0

SN: 153945-UP

1шт.

6

6610-41-2420

BUSHING

SN: 153945-UP

1шт.

7

6610-41-2330

INSERT

SN: 153945-UP

1шт.

|8

6610-41-3040

PIN ASS'Y

SN: 153945-UP

1шт.

8

0

SN: 153945-UP

1шт.

9

6610-41-2360

PLUG

SN: 153945-UP

1шт.

10

6610-41-2370

PIN

SN: 153945-UP

1шт.

11

6610-41-2440

ROLLER

SN: 153945-UP

1шт.

|12

6610-41-2030

LEVER ASS'Y

SN: 153945-UP

4шт.

|12

6610-41-2040

LEVER & BUSHING

SN: 153945-UP

1шт.

12

0

SN: 153945-UP

1шт.

13

0

SN: 153945-UP

1шт.

14

6610-41-2330

INSERT

SN: 153945-UP

1шт.

|15

6610-41-3050

PIN ASS'Y

SN: 153945-UP

1шт.

15

0

SN: 153945-UP

1шт.

16

6610-41-2360

PLUG

SN: 153945-UP

1шт.

17

6610-41-2370

PIN

SN: 153945-UP

1шт.

18

6610-41-2340

ROLLER

SN: 153945-UP

1шт.

19

6710-41-3020

ROD ASS'Y

SN: 153945-UP

6шт.

|19

0

SN: 153945-UP

1шт.

20

6610-41-3030

ROD ASS'Y

SN: 153945-UP

6шт.

|20

0

SN: 153945-UP

1шт.

21

6710-41-3010

ROD ASS'Y

SN: 153945-UP

6шт.

|21

0

SN: 153945-UP

1шт.

|22

6610-41-2081

GASKET

SN: 159720-UP

1шт.

|22

6610-41-2080

GASKET

SN: 153945-159719

1шт.

22

6610-41-2810

GASKET

SN: 153945-UP

3шт.

|22

6610-41-2820

GASKET

SN: 159720-UP

3шт.

|22

6610-41-2820

GASKET

SN: 153945-159719

6шт.

|22

6610-41-2840

GASKET

SN: 159720-UP

3шт.

|22

6610-41-2830

GASKET

SN: 153945-UP

9шт.

23

02030-20625

BOLT

SN: 153945-UP

18шт.

24

02310-11224

WASHER

SN: 153945-UP

18шт.

25

02300-11320

WASHER

SN: 153945-UP

18шт.

Выбрано товаров: 42