Запчасти Komatsu S4D102E-1K МАСЛЯНЫЙ ЩУП(№-) ДВИГАТЕЛЬ

Схема запчастей Komatsu S4D102E-1K - МАСЛЯНЫЙ ЩУП(№-) ДВИГАТЕЛЬ
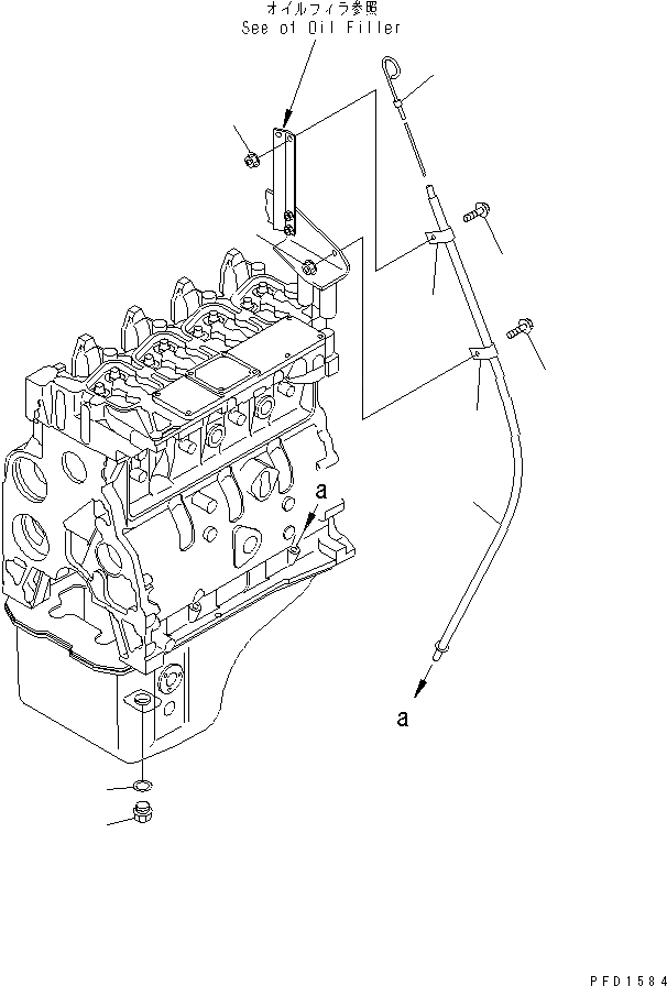
1
2
3
4
5
5
6
6
7
7
FIT
1:1
100%

Артикул

Название

Примечание

Количество

1

6204-21-5180

PLUG,DRAIN

SN: 26203202-UP

1шт.

2

07005-02216

GASKET

SN: 26203202-UP

1шт.

3

6732-21-5650

GAUGE

SN: 26203202-UP

1шт.

4

6732-21-5660

GUIDE

SN: 26203202-UP

1шт.

5

04434-51208

CLIP

SN: 26203202-UP

2шт.

6

01435-00816

BOLT

SN: 26203202-UP

2шт.

7

01584-00806

NUT

SN: 26203202-UP

2шт.

Выбрано товаров: 7