Запчасти Komatsu S4D105-2B ВОДН. PIPE И ТЕРМОСТАТ ГОЛОВКА ЦИЛИНДРОВ

Схема запчастей Komatsu S4D105-2B - ВОДН. PIPE И ТЕРМОСТАТ ГОЛОВКА ЦИЛИНДРОВ
FIT
1:1
100%

Артикул

Название

Примечание

Количество

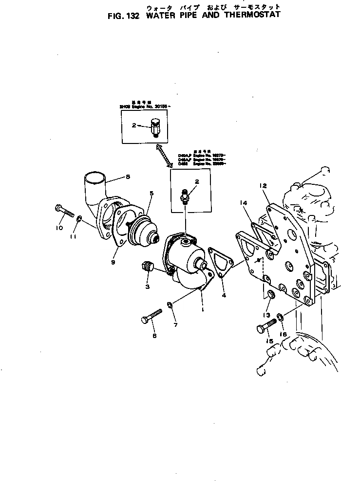
|1

6131-11-6010

THERMOSTAT CASE A.

SN: 18273-UP

1шт.

1

6131-11-6410

CASE

SN: 18273-UP

1шт.

2

135-03-12140

NIPPLE

SN: 18273-UP

1шт.

3

07042-20415

PLUG

SN: 18273-UP

1шт.

4

6130-11-6810

GASKET (K1)

SN: 18273-UP

1шт.

5

6110-13-6311

THERMOSTAT

SN: 18273-UP

1шт.

6

01010-30835

BOLT

SN: 18273-UP

3шт.

7

01602-00835

WASHER,SPRING

SN: 18273-UP

3шт.

8

6130-11-6521

PIPE,WATER OUTLET

SN: 18273-UP

1шт.

9

6110-13-6451

GASKET (K1)

SN: 18273-UP

1шт.

10

01010-30818

BOLT

SN: 20060-UP

3шт.

|10

01010-30822

BOLT

SN: 18273-20059

3шт.

11

01602-00825

WASHER,SPRING

SN: 18273-UP

3шт.

12

6131-11-6310

PLATE

SN: 18273-UP

1шт.

13

07046-11516

PLUG

SN: 18273-UP

1шт.

14

6130-11-6310

GASKET (K1)

SN: 18273-UP

1шт.

15

01010-30822

BOLT

SN: 18273-UP

6шт.

16

01602-00825

WASHER,SPRING

SN: 18273-UP

6шт.

Выбрано товаров: 18