Запчасти Komatsu S4D105-3B ГОЛОВКА ЦИЛИНДРОВ COVER ГОЛОВКА ЦИЛИНДРОВ

Схема запчастей Komatsu S4D105-3B - ГОЛОВКА ЦИЛИНДРОВ COVER ГОЛОВКА ЦИЛИНДРОВ
FIT
1:1
100%

Артикул

Название

Примечание

Количество

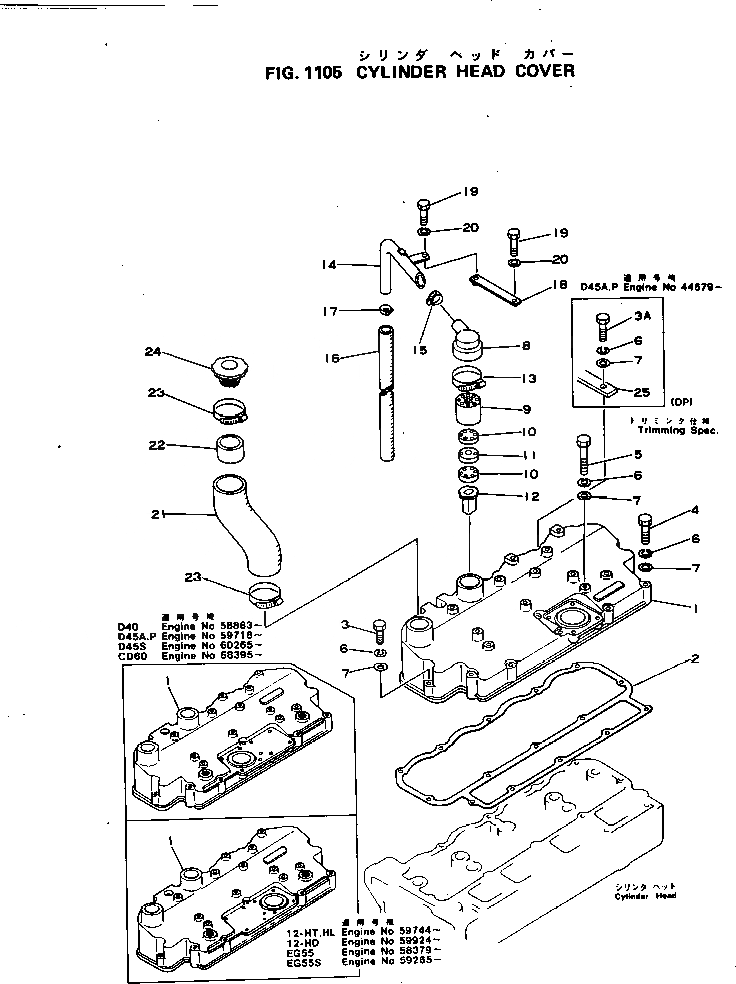
1

6130-12-8121

COVER,HEAD

SN: 58863-UP

1шт.

|1

6131-12-8110

COVER,HEAD

SN: 44578-58862

1шт.

2

6130-11-7820

GASKET (K1)

SN: 44578-UP

1шт.

3

01010-30850

BOLT

SN: 44578-UP

8шт.

4

01010-30870

BOLT

SN: 44578-UP

4шт.

5

01010-30890

BOLT

SN: 44578-UP

3шт.

6

01602-00825

WASHER,SPRING

SN: 44578-UP

15шт.

7

01640-20816

WASHER

SN: 44578-UP

15шт.

8

6131-12-8911

CASE

SN: 44578-UP

1шт.

9

6131-12-8920

ELEMENT

SN: 44578-UP

1шт.

10

6131-12-8930

PLATE

SN: 44578-UP

2шт.

11

6131-12-8940

PLATE

SN: 44578-UP

1шт.

12

6130-12-8920

BAFFLE

SN: 44578-UP

1шт.

13

07281-00709

CLAMP

SN: 44578-UP

1шт.

14

6131-12-8850

PIPE

SN: 44578-UP

1шт.

15

07281-00359

CLAMP

SN: 44578-UP

1шт.

16

6131-12-8870

HOSE

SN: 44578-UP

1шт.

17

07280-02523

CLAMP

SN: 44578-UP

1шт.

18

6130-12-8860

BRACKET

SN: 44578-UP

1шт.

19

01010-30820

BOLT

SN: 44578-UP

2шт.

20

01602-00825

WASHER,SPRING

SN: 44578-UP

2шт.

21

6131-12-8620

HOSE

SN: 44578-UP

1шт.

22

6130-12-8630

PIPE

SN: 44578-UP

1шт.

23

07281-00709

CLAMP

SN: 44578-UP

2шт.

24

6130-12-8610

CAP

SN: 44578-UP

1шт.

Выбрано товаров: 25