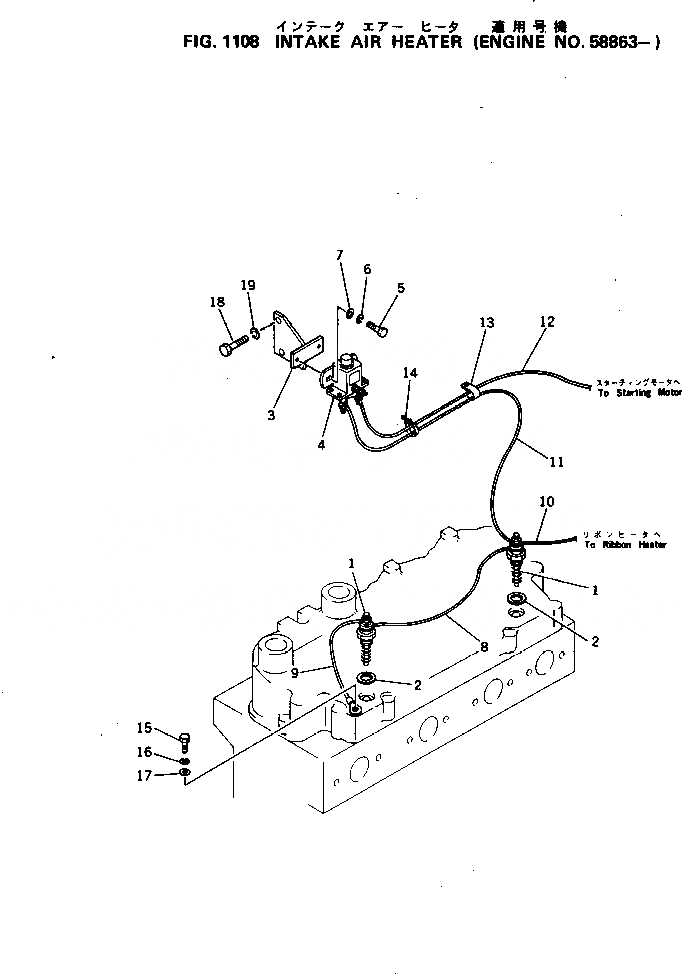
Запчасти Komatsu S4D105-3B INTAKE ВОЗД. ОБОГРЕВАТЕЛЬ.(№88-) ГОЛОВКА ЦИЛИНДРОВ

Схема запчастей Komatsu S4D105-3B - INTAKE ВОЗД. ОБОГРЕВАТЕЛЬ.(№88-) ГОЛОВКА ЦИЛИНДРОВ
FIT
1:1
100%

Артикул

Название

Примечание

Количество

1

600-815-2350

HEATER,COIL

SN: 58863-UP

2шт.

2

07003-02228

GASKET (K1)

SN: 58863-UP

2шт.

3

6131-82-4610

BRACKET

SN: 58863-UP

1шт.

4

600-815-2170

SWITCH,HEATER

SN: .-UP

1шт.

|4

0

SWITCH,HEATER

SN: 58863-.

1шт.

5

01010-30616

BOLT

SN: 58863-UP

2шт.

6

01602-00619

WASHER,SPRING

SN: 58863-UP

2шт.

7

01640-00610

WASHER

SN: 58863-UP

2шт.

8

6131-82-4810

WIRE

SN: 58863-UP

1шт.

9

6131-82-4820

WIRE

SN: 58863-UP

1шт.

10

6131-82-4830

WIRE

SN: 58863-UP

1шт.

13

08036-01414

CLIP

SN: 58863-UP

1шт.

14

08034-00310

BAND

SN: 58863-UP

1шт.

15

01010-30870

BOLT

SN: 58863-UP

2шт.

16

01602-00825

WASHER,SPRING

SN: 58863-UP

2шт.

17

01640-20816

WASHER

SN: 58863-UP

2шт.

18

01010-31030

BOLT

SN: 58863-UP

2шт.

19

01602-01030

WASHER,SPRING

SN: 58863-UP

2шт.

Выбрано товаров: 18