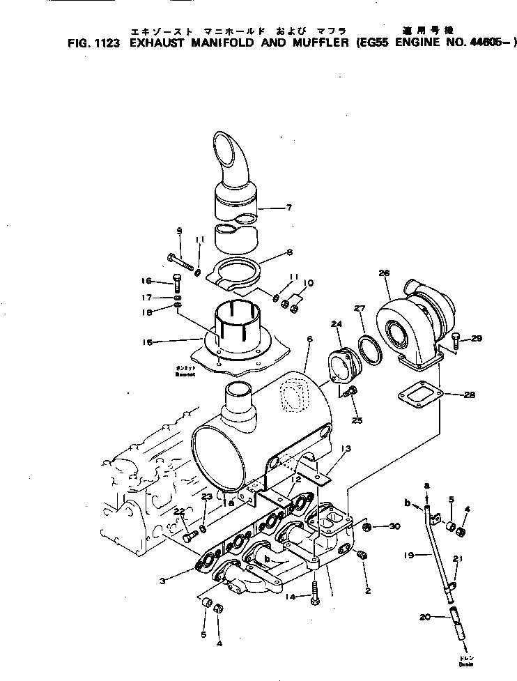
Запчасти Komatsu S4D105-3H ВЫПУСКНОЙ КОЛЛЕКТОР И ГЛУШИТЕЛЬ ГОЛОВКА ЦИЛИНДРОВ

Схема запчастей Komatsu S4D105-3H - ВЫПУСКНОЙ КОЛЛЕКТОР И ГЛУШИТЕЛЬ ГОЛОВКА ЦИЛИНДРОВ
FIT
1:1
100%

Артикул

Название

Примечание

Количество

1

6131-12-5110

MANIFOLD,EXHAUST

SN: 44605-UP

1шт.

2

07042-20108

PLUG

SN: 44605-UP

2шт.

3

6131-12-5810

GASKET (K1)

SN: 44605-UP

1шт.

4

6110-11-1190

NUT

SN: 44605-UP

8шт.

5

6131-12-5920

SPACER

SN: 44605-UP

8шт.

6

6131-12-5521

MUFFLER

SN: 44605-UP

1шт.

7

6114-11-5490

PIPE,EXHAUST

SN: 44605-UP

1шт.

8

6114-11-5910

CLAMP

SN: 44605-UP

1шт.

9

6114-11-5920

BOLT

SN: 44605-UP

1шт.

10

01582-01411

NUT

SN: 44605-UP

2шт.

11

01641-21423

WASHER

SN: 44605-UP

2шт.

12

6131-12-5560

PLATE

SN: 44605-UP

1шт.

13

6131-12-5570

PLATE

SN: 44605-UP

1шт.

14

6131-12-5650

BOLT

SN: 44605-UP

4шт.

15

6131-15-5550

BRACKET

SN: 44605-UP

1шт.

16

01010-30820

BOLT

SN: 44605-UP

4шт.

17

01602-00825

WASHER,SPRING

SN: 44605-UP

4шт.

18

01643-30823

WASHER

SN: 44605-UP

4шт.

19

6131-12-5550

PIPE

SN: 44605-UP

1шт.

20

07260-20963

HOSE,WATER DRAIN

SN: 44605-UP

1шт.

21

6131-52-7670

CLIP

SN: 44605-UP

1шт.

22

01010-31020

BOLT

SN: 44605-UP

2шт.

23

01602-01030

WASHER,SPRING

SN: 44605-UP

2шт.

24

6131-11-5230

JOINT

SN: 44605-UP

1шт.

25

6131-11-5360

BOLT

SN: 44605-UP

2шт.

26

6131-82-8202

TURBOCHARGER ASS'Y,(SEE FIG.1141)

SN: 67120-UP

1шт.

26

0

TURBOCHARGER ASS'Y,(SEE FIG.1141)

SN: 53511-67119

1шт.

26

0

TURBOCHARGER ASS'Y,(SEE FIG.1141)

SN: 44605-53510

1шт.

27

6114-11-5280

RING,SEAL

SN: 44605-UP

1шт.

28

6131-11-5170

GASKET (K1)

SN: 44605-UP

1шт.

29

02030-50638

BOLT

SN: 44605-UP

4шт.

30

6131-11-1290

NUT

SN: 44605-UP

4шт.

Выбрано товаров: 0