Запчасти Komatsu S4D105-3H - -

Схема запчастей Komatsu S4D105-3H - - -
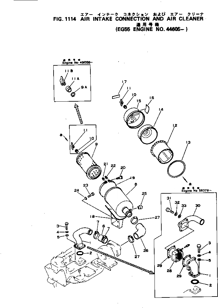
FIT
1:1
100%

Артикул

Название

Примечание

Количество

1

6131-12-4320

AIR CONNECTOR

SN: 58379-UP

1шт.

|1

6131-12-4210

CONNECTOR

SN: 44605-58378

1шт.

2

07000-02070

O-RING

SN: 44605-UP

1шт.

3

01010-31025

BOLT

SN: 44605-UP

4шт.

4

01602-01030

WASHER

SN: 44605-UP

4шт.

5

01640-01016

WASHER

SN: 44605-UP

4шт.

6

6131-11-4370

HOSE

SN: 44605-UP

1шт.

7

07281-00709

CLAMP

SN: 44605-UP

2шт.

|8

6131-81-7103

AIR CLEANER ASS

SN: 49058-UP

1шт.

|8

0

AIR CLEANER

SN: 44605-49057

1шт.

8

6131-81-7112

BODY ASS'Y

SN: 44605-UP

1шт.

|9

600-181-8200

ELEMENT

SN: 44605-UP

1шт.

|9

0

ELEMENT ASS'Y

SN: 49058-49057

1шт.

9

0

SN: 49058-UP

1шт.

|9

0

SN: 44605-49057

1шт.

9A

04064-01510

SNAP RING

SN: 49058-UP

1шт.

|10

600-181-2390

NUT ASS'Y

SN: 44605-49057

2шт.

10

600-181-3270

WASHER

SN: 44605-49057

1шт.

11

600-181-2360

NUT

SN: 44605-49057

1шт.

11A

600-181-4591

SEAL

SN: 49058-UP

1шт.

11B

600-181-2990

WING NUT

SN: 49058-UP

1шт.

12

600-181-8630

GUIDE

SN: 44605-UP

1шт.

13

600-181-8420

GASKET

SN: 44605-UP

1шт.

14

600-181-8032

COVER

SN: 44605-UP

1шт.

15

6131-81-7121

COVER

SN: 44605-UP

1шт.

16

600-181-8740

CAUTION PLATE

SN: 44605-UP

1шт.

17

600-181-8750

CAUTION PLATE

SN: 44605-UP

1шт.

18

6130-15-4350

BRACKET

SN: 44605-UP

1шт.

19

6131-11-4510

BAND

SN: 44605-UP

1шт.

20

6110-23-6520

BOLT

SN: 44605-UP

1шт.

21

6110-21-6530

PIN

SN: 44605-UP

1шт.

22

6110-21-6540

PIN

SN: 44605-UP

1шт.

23

01010-31020

BOLT

SN: 44605-UP

4шт.

24

01602-01030

WASHER

SN: 44605-UP

4шт.

25

08670-50001

DUST INDICATOR

SN: 44605-UP

1шт.

26

6130-15-4280

HOSE

SN: 44605-UP

1шт.

27

07281-00909

CLAMP

SN: 44605-UP

2шт.

28

600-815-2340

HEATER

SN: 58379-UP

1шт.

29

6136-11-4820

GASKET

SN: 58379-UP

2шт.

30

6131-12-4320

AIR CONNECTOR

SN: 58379-UP

1шт.

31

01010-31070

BOLT

SN: 58379-UP

4шт.

32

01602-01030

WASHER

SN: 58379-UP

4шт.

33

01640-01016

WASHER

SN: 58379-UP

4шт.

Выбрано товаров: 43