Запчасти Komatsu S4D105-3K ТОПЛИВН. ФОРСУНКА И SPILL PIPIE ТОПЛИВН. СИСТЕМА

Схема запчастей Komatsu S4D105-3K - ТОПЛИВН. ФОРСУНКА И SPILL PIPIE ТОПЛИВН. СИСТЕМА
FIT
1:1
100%

Артикул

Название

Примечание

Количество

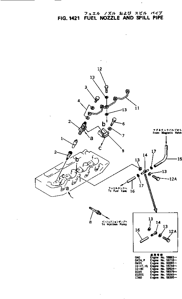
|1

6131-12-3100

NOZZLE HOLDER ASS'Y

SN: 45473-UP

4шт.

1

6131-11-3530

NOZZLE

SN: 45473-UP

1шт.

2

6130-12-3110

HOLDER ASS'Y

SN: 45473-UP

1шт.

3

6127-11-3152

BOLT,JOINT

SN: 45473-UP

1шт.

4

07005-00812

GASKET (K1)

SN: 45473-UP

2шт.

5

6130-11-3213

BRACKET

SN: 45473-UP

4шт.

6

01010-61065

BOLT

SN: 45473-UP

8шт.

7

6130-11-3230

WASHER

SN: 45473-UP

8шт.

8

DK150645-0720

CONNECTOR

SN: 45473-UP

1шт.

11

6130-72-5310

PIPE,SPILL

SN: 45473-UP

1шт.

12

6130-71-5351

BOLT,JOINT

SN: 45473-UP

1шт.

12A

6131-72-5350

BOLT,JOINT

SN: 58395-UP

1шт.

|12A

6130-71-5351

BOLT,JOINT

SN: 45473-58394

1шт.

13

07005-00812

GASKET (K1)

SN: 45473-UP

4шт.

14

6131-72-5331

PIPE,SPILL

SN: 58395-UP

1шт.

|14

6130-71-5330

PIPE,SPILL

SN: 45473-58394

1шт.

15

6131-72-5550

HOSE,OVERFLOW

SN: .-58394

1шт.

|15

6130-82-4610

HOSE,OVERFLOW

SN: 45473-.

1шт.

16

6131-71-5520

HOSE,SPILL

SN: 58395-UP

1шт.

|16

6131-72-5510

HOSE,SPILL

SN: 45473-58394

1шт.

17

07281-00137

CLAMP

SN: 45473-58394

2шт.

Выбрано товаров: 21