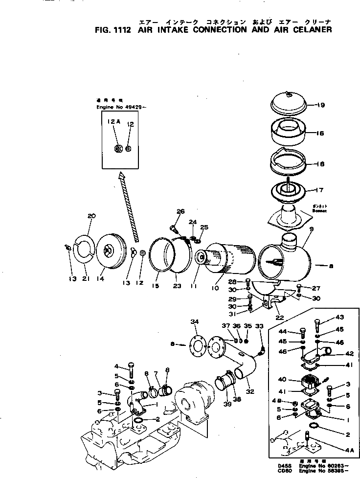
Запчасти Komatsu S4D105-3K ВПУСК ВОЗДУХА СОЕДИН-Е И ВОЗДУХООЧИСТИТЕЛЬ ГОЛОВКА ЦИЛИНДРОВ

Схема запчастей Komatsu S4D105-3K - ВПУСК ВОЗДУХА СОЕДИН-Е И ВОЗДУХООЧИСТИТЕЛЬ ГОЛОВКА ЦИЛИНДРОВ
FIT
1:1
100%

Артикул

Название

Примечание

Количество

1

6131-12-4340

CONNECTOR,AIR INTAKE

SN: 58395-UP

1шт.

|1

6131-12-4220

CONNECTOR,AIR INTAKE

SN: 45473-58394

1шт.

2

07000-02070

O-RING (K1)

SN: 45473-UP

1шт.

3

01010-31025

BOLT

SN: 45473-UP

2шт.

4

01010-31090

BOLT

SN: 45473-58394

2шт.

4A

01124-31025

STUD

SN: 58395-UP

2шт.

4B

01580-01008

NUT

SN: 58395-UP

2шт.

5

01602-01030

WASHER,SPRING

SN: 45473-UP

4шт.

6

01640-21016

WASHER

SN: 45473-UP

4шт.

7

6131-11-4370

HOSE

SN: 45473-UP

1шт.

8

07281-00709

CLAMP

SN: 45473-UP

2шт.

|9

6131-82-7301

AIR CLEANER ASS'Y

SN: 49429-UP

1шт.

|9

0

AIR CLEANER ASS'Y

SN: 45473-49428

1шт.

|9

6131-82-7800

AIR CLEANER ASS'Y,(FOR TRIMMING DOZER)

SN: 45473-UP

1шт.

9

6131-82-7310

BODY

SN: 45473-UP

1шт.

|10

6131-81-7031

ELEMENT ASS'Y

SN: 49429-UP

1шт.

|10

0

ELEMENT ASS'Y

SN: 45473-49428

1шт.

|10

6131-81-7051

ELEMENT ASS'Y,(FOR TRIMMING DOZER)

SN: 45473-UP

1шт.

10

600-181-8210

ELEMENT,OUTER

SN: 45473-UP

1шт.

11

600-181-8310

ELEMENT,INNER

SN: 45473-UP

1шт.

|11

6131-81-7230

ELEMENT,INNER (FOR TRIMMING DOZER)

SN: 45473-UP

1шт.

12

600-181-7511

WASHER,SEAL

SN: 45473-UP

1шт.

12A

600-181-9631

NUT,LOCK

SN: 49429-UP

1шт.

13

600-181-7620

NUT,WING

SN: 45473-49428

1шт.

14

600-181-8120

COVER ASS'Y

SN: 45473-UP

1шт.

15

6003000-8-10

GASKET

SN: 45473-UP

1шт.

|16

6110-83-7500

PRE-CLEANER ASS'Y

SN: 45473-UP

1шт.

16

6672-82-7540

BODY

SN: 45473-UP

1шт.

17

6672-82-7510

SLEEVE ASS'Y

SN: 45473-UP

1шт.

18

6110-83-7590

TRAP,DUST

SN: 45473-UP

1шт.

19

6672-82-7550

COVER ASS'Y

SN: 45473-UP

1шт.

20

600-181-9710

PLATE

SN: 45473-UP

1шт.

21

600-181-9720

PLATE

SN: 45473-UP

1шт.

22

6131-12-4530

BRACKET

SN: 45473-UP

1шт.

23

6110-11-4511

BAND ASS'Y

SN: 45473-UP

1шт.

24

6643-11-4620

PIN

SN: 45473-UP

1шт.

25

6643-11-4630

PIN¤ WITH THREAD

SN: 45473-UP

1шт.

26

6643-11-4641

BOLT

SN: 45473-UP

1шт.

27

01010-30816

BOLT

SN: 45473-UP

3шт.

28

01010-30820

BOLT

SN: 45473-UP

1шт.

29

01010-30830

BOLT

SN: 45473-UP

1шт.

30

01602-00825

WASHER,SPRING

SN: 45473-UP

5шт.

31

6131-12-4570

SPACER

SN: 45473-UP

1шт.

32

6131-12-4250

CONNECTOR

SN: 45473-UP

1шт.

33

08671-50721

ELBOW

SN: 45473-UP

1шт.

34

6110-11-4430

GASKET (K1)

SN: 45473-UP

1шт.

35

01580-00806

NUT

SN: 45473-UP

6шт.

36

01602-00825

WASHER,SPRING

SN: 45473-UP

6шт.

37

01640-20816

WASHER

SN: 45473-UP

6шт.

38

6131-11-4480

HOSE

SN: 45473-UP

1шт.

39

07281-00909

CLAMP

SN: 45473-UP

2шт.

40

600-815-2340

HEATER,RIBBON

SN: 58395-UP

1шт.

41

6136-11-4820

GASKET (K1)

SN: 58395-UP

2шт.

42

6131-12-4350

CONNECTOR,AIR INTAKE

SN: 58395-UP

1шт.

43

01011-31000

BOLT

SN: 58395-UP

2шт.

44

01010-31070

BOLT

SN: 58395-UP

2шт.

45

01602-01030

WASHER,SPRING

SN: 58395-UP

4шт.

46

01640-01016

WASHER

SN: 58395-UP

4шт.

Выбрано товаров: 0