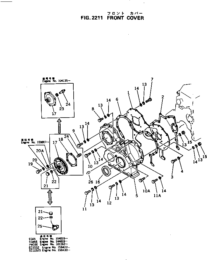
Запчасти Komatsu S4D105-5B ПЕРЕДН. COVER БЛОК ЦИЛИНДРОВ

Схема запчастей Komatsu S4D105-5B - ПЕРЕДН. COVER БЛОК ЦИЛИНДРОВ
FIT
1:1
100%

Артикул

Название

Примечание

Количество

1

6134-22-3210

PLATE,FRONT

SN: 150007-UP

1шт.

1

6134-21-3210

PLATE,FRONT

SN: 100028-149999

1шт.

2

6136-21-3821

GASKET (K2)

SN: 101550-UP

1шт.

2

0

GASKET (K2)

SN: 100028-101549

1шт.

3

01010-30822

BOLT

SN: 100028-UP

4шт.

4

01602-00825

WASHER,SPRING

SN: 100028-UP

4шт.

5

6134-21-3111

COVER,FRONT

SN: 100094-UP

1шт.

5

6134-21-3110

COVER,FRONT

SN: 100028-100093

1шт.

6

6134-21-3810

GASKET (K2)

SN: 100028-UP

1шт.

7

01010-30825

BOLT

SN: 100028-UP

5шт.

8

01010-30870

BOLT

SN: 100028-UP

3шт.

9

01010-30830

BOLT

SN: 100028-UP

3шт.

9

01010-30860

BOLT

SN: .-UP

1шт.

9

01010-30860

BOLT

SN: 100094-.

4шт.

9

01010-30830

BOLT

SN: 100028-100093

4шт.

10

01010-30840

BOLT

SN: 100028-UP

1шт.

10A

01010-30835

BOLT

SN: .-UP

1шт.

11

01010-30855

BOLT

SN: .-UP

1шт.

11

01010-30880

BOLT

SN: .-UP

1шт.

11

01010-30880

BOLT

SN: 100094-.

2шт.

11

01010-30855

BOLT

SN: 100028-100093

2шт.

11A

01010-30845

BOLT

SN: .-UP

2шт.

12

01010-30890

BOLT

SN: 100028-UP

2шт.

13

01602-00825

WASHER,SPRING

SN: .-UP

20шт.

13

01602-00825

WASHER,SPRING

SN: 100028-.

18шт.

14

01640-00816

WASHER

SN: .-UP

15шт.

14

01640-00816

WASHER

SN: 100028-.

13шт.

15

01580-00806

NUT

SN: .-UP

3шт.

15

01580-00806

NUT

SN: 100028-.

1шт.

16

6136-21-3510

SEAL, FRONT (K2)

SN: 100028-UP

1шт.

17

6134-21-3620

COVER,FRONT

SN: 104135-UP

1шт.

17

0

COVER,FRONT

SN: 100028-104134

1шт.

|$$33

(6134-21-3620,6136-81-3951,

-1шт.

|$$34

6610-71-1911)

-1шт.

18

6134-21-3830

GASKET (K2)

SN: 100028-UP

1шт.

19

01010-50825

BOLT

SN: 150007-UP

6шт.

19

01010-30820

BOLT

SN: 100028-149999

6шт.

20

01602-20825

WASHER,SPRING

SN: 100028-UP

6шт.

20A

01640-20816

WASHER

SN: 150007-UP

6шт.

21

6136-81-5291

CAP

SN: 100028-UP

1шт.

22

6130-82-5270

GASKET

SN: 100028-UP

1шт.

23

6150-71-1910

SEAL,OIL

SN: 165528-UP

1шт.

23

0

SEAL,OIL (K2)

SN: 100028-165527

1шт.

24

6136-81-3951

SHAFT

SN: 104135-UP

1шт.

24

6136-81-3910

SHAFT

SN: 100028-104134

1шт.

Выбрано товаров: 45