Запчасти Komatsu S4D105-5B ТОПЛИВН. ФИЛЬТР. ТОПЛИВН. СИСТЕМА

Схема запчастей Komatsu S4D105-5B - ТОПЛИВН. ФИЛЬТР. ТОПЛИВН. СИСТЕМА
FIT
1:1
100%

Артикул

Название

Примечание

Количество

|$0

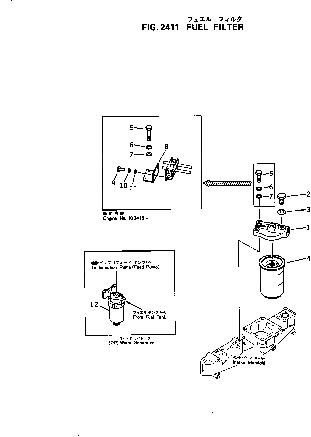
6134-71-6100

FUEL FILTER ASS'Y

SN: 100028-UP

1шт.

1

6136-71-6110

HEAD

SN: 100028-UP

1шт.

2

600-311-6720

PLUG

SN: 100028-UP

1шт.

3

07005-00812

GASKET

SN: 100028-UP

1шт.

4

600-311-6220

CARTRIDGE

SN: 100028-UP

1шт.

5

01010-31050

BOLT

SN: 103415-UP

2шт.

5

01010-31035

BOLT

SN: 100028-103414

2шт.

6

01602-01030

WASHER,SPRING

SN: 100028-UP

2шт.

7

01640-01016

WASHER

SN: 100028-UP

2шт.

8

6134-71-5760

BRACKET

SN: 100028-UP

1шт.

9

01010-30616

BOLT

SN: 150007-UP

2шт.

9

01010-30620

BOLT

SN: 100028-149999

2шт.

10

01602-00619

WASHER,SPRING

SN: 103415-UP

2шт.

11

01643-30623

WASHER

SN: 103415-UP

2шт.

12

600-311-9700

WATER SEPARATOR A.,(SEE FIG.2415)

SN: .-UP

1шт.

12

0

WATER SEPARATOR A.,(SEE FIG.2415)

SN: 100028-.

1шт.

Выбрано товаров: 16