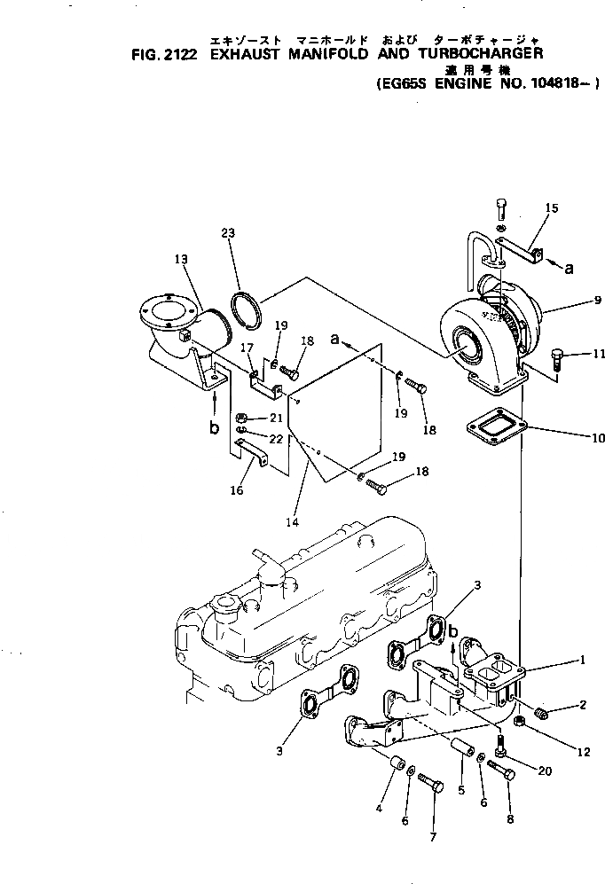
Запчасти Komatsu S4D105-5D ВЫПУСКНОЙ КОЛЛЕКТОР И ТУРБОНАГНЕТАТЕЛЬ ГОЛОВКА ЦИЛИНДРОВ

Схема запчастей Komatsu S4D105-5D - ВЫПУСКНОЙ КОЛЛЕКТОР И ТУРБОНАГНЕТАТЕЛЬ ГОЛОВКА ЦИЛИНДРОВ
FIT
1:1
100%

Артикул

Название

Примечание

Количество

1

6135-11-5110

MANIFOLD,EXHAUST

SN: 104818-UP

1шт.

2

07042-20108

PLUG

SN: 104818-UP

2шт.

3

6135-11-5810

GASKET (K1)

SN: 104818-UP

2шт.

4

6112-21-6960

SPACER

SN: 104818-UP

2шт.

5

6134-11-5120

SPACER

SN: 104818-UP

6шт.

6

01643-31032

WASHER

SN: 104818-UP

8шт.

7

01010-31060

BOLT

SN: 104818-UP

2шт.

8

01010-31080

BOLT

SN: 104818-UP

6шт.

9

6135-82-8200

TURBOCHARGER ASS'Y,(SEE FIG.2141)

SN: 150668-UP

1шт.

9

6135-81-8202

TURBOCHARGER ASS'Y,(SEE FIG.2141)

SN: .-150667

1шт.

9

0

TURBOCHARGER ASS'Y,(SEE FIG.2141)

SN: 104818-.

1шт.

10

6131-11-5170

GASKET (K1)

SN: 104818-UP

1шт.

11

02030-40638

BOLT

SN: 104818-UP

4шт.

12

6131-11-1290

NUT

SN: 104818-UP

4шт.

13

6135-11-5310

ELBOW

SN: 104818-UP

1шт.

14

6135-11-5320

PLATE

SN: 104818-UP

1шт.

15

6115-15-5190

BRACKET

SN: 104818-UP

1шт.

16

6135-11-5330

BRACKET

SN: 104818-UP

1шт.

17

6135-11-5340

BRACKET

SN: 104818-UP

1шт.

18

01010-30816

BOLT

SN: 104818-UP

4шт.

19

01602-00825

WASHER,SPRING

SN: 104818-UP

4шт.

20

01010-31030

BOLT

SN: 104818-UP

2шт.

21

01580-01008

NUT

SN: 104818-UP

2шт.

22

01602-01030

WASHER,SPRING

SN: 104818-UP

2шт.

23

6114-11-5280

RING,SEAL

SN: 104818-UP

1шт.

Выбрано товаров: 25