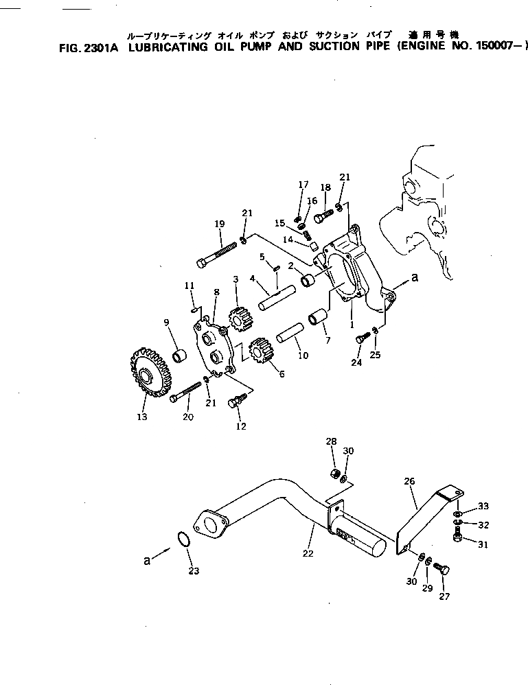
Запчасти Komatsu S4D105-5E СМАЗЫВ. НАСОС И ВСАСЫВ. PIPE(№7-) СИСТЕМА СМАЗКИ МАСЛ. СИСТЕМА

Схема запчастей Komatsu S4D105-5E - СМАЗЫВ. НАСОС И ВСАСЫВ. PIPE(№7-) СИСТЕМА СМАЗКИ МАСЛ. СИСТЕМА
FIT
1:1
100%

Артикул

Название

Примечание

Количество

|$0

6134-52-1100

OIL PUMP ASS'Y

SN: 150007-UP

1шт.

|$1

6134-52-1200

BODY ASS'Y

SN: 150007-UP

1шт.

1

0

BODY

SN: 150007-UP

1шт.

2

6136-52-1220

BUSHING

SN: 150007-UP

1шт.

|$4

6134-52-1500

DRIVE GEAR ASS'Y

SN: 150007-UP

1шт.

3

0

GEAR

SN: 150007-UP

1шт.

4

6136-52-1520

SHAFT

SN: 150007-UP

1шт.

5

04010-10516

KEY

SN: 150007-UP

1шт.

|$8

6134-52-1400

DRIVEN GEAR ASS'Y

SN: 150007-UP

1шт.

6

0

GEAR

SN: 150007-UP

1шт.

7

6134-52-1420

BUSHING

SN: 150007-UP

1шт.

|$11

6134-52-1300

COVER ASS'Y

SN: 150007-UP

1шт.

8

0

COVER

SN: 150007-UP

1шт.

9

6136-52-1330

BUSHING

SN: 150007-UP

1шт.

10

6136-52-1320

SHAFT,DRIVE

SN: 150007-UP

1шт.

11

6136-52-1620

PIN,DOWEL

SN: 150007-UP

1шт.

12

6136-52-1630

BOLT

SN: 150007-UP

3шт.

13

6136-52-1610

GEAR

SN: 150007-UP

1шт.

14

6136-52-1640

VALVE

SN: 150007-UP

1шт.

15

6136-52-1650

SPRING

SN: 150007-UP

1шт.

16

6136-52-1660

RETAINER

SN: 150007-UP

1шт.

17

04065-01610

RING,SNAP

SN: 150007-UP

1шт.

18

01010-30850

BOLT

SN: 150007-UP

1шт.

19

01010-30845

BOLT

SN: .-UP

1шт.

19

0

BOLT

SN: 150007-.

1шт.

20

01010-30830

BOLT

SN: 150007-UP

1шт.

21

01602-00825

WASHER,SPRING

SN: 150007-UP

3шт.

22

6134-52-6210

PIPE,SUCTION

SN: 150007-UP

1шт.

23

07000-63035

O-RING (K2)

SN: 101262-UP

1шт.

24

01010-30830

BOLT

SN: 101262-UP

2шт.

25

01602-00825

WASHER,SPRING

SN: 101262-UP

2шт.

26

6134-51-6221

BRACKET

SN: 150007-UP

1шт.

27

01010-30825

BOLT

SN: 101262-UP

1шт.

28

01580-00806

NUT

SN: 101262-UP

1шт.

29

01602-00825

WASHER,SPRING

SN: 101262-UP

1шт.

30

01640-20816

WASHER

SN: 150007-UP

2шт.

31

01010-31025

BOLT

SN: 150007-UP

1шт.

32

01602-01030

WASHER,SPRING

SN: 101262-UP

1шт.

33

01640-01016

WASHER

SN: 101262-UP

1шт.

Выбрано товаров: 39