Запчасти Komatsu S4D105-5K ТОПЛИВН. CUT СОЛЕНОИД И МЕХАНИЗМ ТОПЛИВН. СИСТЕМА

Схема запчастей Komatsu S4D105-5K - ТОПЛИВН. CUT СОЛЕНОИД И МЕХАНИЗМ ТОПЛИВН. СИСТЕМА
FIT
1:1
100%

Артикул

Название

Примечание

Количество

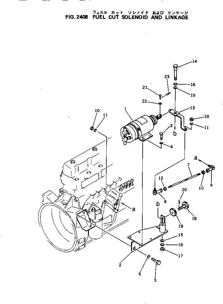
1

600-815-5381

MAGNETIC SWITCH A.

SN: 166545-UP

1шт.

1

0

MAGNETIC SWITCH A.

SN: 158423-166544

1шт.

2

6134-72-5112

BRACKET

SN: 158423-UP

1шт.

3

01010-30616

BOLT

SN: 158423-UP

4шт.

4

01602-00619

WASHER

SN: 158423-UP

4шт.

5

01010-31225

BOLT

SN: 158423-UP

2шт.

6

01602-01236

WASHER

SN: 158423-UP

2шт.

7

6993-81-3121

ROD

SN: 158423-UP

1шт.

8

6966-83-3720

JOINT

SN: 158423-UP

1шт.

9

6966-83-3710

JOINT

SN: 158423-UP

1шт.

10

01580-00605

NUT

SN: 158423-UP

3шт.

11

01602-00619

WASHER

SN: 158423-UP

2шт.

12

01508-10603

NUT, L.H. THREAD

SN: 158423-UP

1шт.

13

6967-51-2130

LEVER

SN: 158423-UP

1шт.

14

6967-51-2140

PIN

SN: 158423-UP

1шт.

15

01640-21223

WASHER

SN: 158423-UP

2шт.

16

01602-00825

WASHER,SPRING

SN: 158423-UP

2шт.

17

01580-00806

NUT

SN: 158423-UP

1шт.

18

6967-51-2150

KNOB

SN: 158423-UP

1шт.

19

6967-51-2160

NUT

SN: 158423-UP

1шт.

20

04052-00633

PIN,COTTER

SN: 158980-UP

1шт.

20

04052-00833

PIN,COTTER (FOR EC105ZS)

SN: 100022-158422

1шт.

20

04050-12018

PIN,COTTER

SN: 158423-158979

1шт.

21

04205-10516

PIN

SN: 158423-UP

1шт.

22

01641-00508

WASHER

SN: 158423-UP

1шт.

23

04052-00530

PIN,SNAP

SN: 158423-UP

1шт.

Выбрано товаров: 26