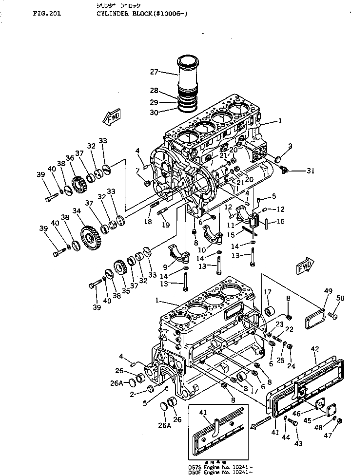
Запчасти Komatsu S4D130-1A БЛОК ЦИЛИНДРОВ(№-) БЛОК ЦИЛИНДРОВ

Схема запчастей Komatsu S4D130-1A - БЛОК ЦИЛИНДРОВ(№-) БЛОК ЦИЛИНДРОВ
FIT
1:1
100%

Артикул

Название

Примечание

Количество

|$0

6115-20-1002

CYLINDER BLOCK A.

SN: 10313-UP

1шт.

|$1

0

CYLINDER BLOCK A.

SN: 10241-10312

1шт.

|$2

0

CYLINDER BLOCK A.

SN: 10006-10240

1шт.

|$3

6114-21-1002

CYLINDER BLOCK A.

SN: 10241-UP

1шт.

|$4

0

CYLINDER BLOCK A.

SN: 10006-10240

1шт.

1

0

BLOCK

SN: 10241-UP

1шт.

1

0

BLOCK

SN: 10006-10240

1шт.

2

07046-13520

PLUG

SN: 10006-UP

1шт.

3

07046-14520

PLUG

SN: 10006-UP

2шт.

4

04020-01228

PIN

SN: 10006-UP

6шт.

5

04020-00616

PIN

SN: 10006-UP

4шт.

6

07042-00211

PLUG

SN: 10006-UP

6шт.

7

07043-01019

PLUG

SN: 10006-UP

1шт.

8

6110-23-1170

PLUG

SN: 10006-UP

6шт.

9

6110-23-1211

CAP

SN: 10006-UP

1шт.

10

6110-23-1231

CAP

SN: 10006-UP

3шт.

|$16

6114-20-1400

MAIN METAL CAP A.

SN: 10006-UP

1шт.

11

0

CAP

SN: 10006-UP

1шт.

12

04020-00514

PIN

SN: 10006-UP

4шт.

13

6114-21-1710

BOLT

SN: 10006-UP

10шт.

14

6114-21-1720

WASHER

SN: 10006-UP

10шт.

15

6110-21-1810

GASKET (K2)

SN: 10006-UP

1шт.

16

6110-21-1821

GASKET (K2)

SN: 10006-UP

12шт.

17

6110-23-1410

BUSHING

SN: 10006-UP

3шт.

18

01100-30822

STUD

SN: 10006-UP

5шт.

19

01100-30830

STUD

SN: 10006-UP

1шт.

20

01580-00806

NUT

SN: 10006-UP

6шт.

21

01602-00825

WASHER

SN: 10006-UP

6шт.

22

01100-41260

STUD

SN: 10006-UP

6шт.

23

6110-21-1130

SPACER

SN: 10006-UP

4шт.

24

01582-01210

NUT

SN: 10006-UP

6шт.

25

01602-01236

WASHER

SN: 10006-UP

6шт.

26

6110-23-1442

BUSHING

SN: 10006-UP

10шт.

26A

6110-23-4920

PLUG

SN: 10006-UP

2шт.

27

6115-21-2211

LINER

SN: 10006-UP

4шт.

28

6610-21-2240

SEAL (K2)

SN: 10006-UP

4шт.

29

6610-21-2250

O-RING (K2)

SN: 10006-UP

4шт.

30

6610-21-2221

O-RING (K2)

SN: 10006-UP

4шт.

31

6140-61-6512

VALVE

SN: 10006-UP

1шт.

32

6610-23-2311

SHAFT

SN: 10006-UP

3шт.

33

6110-23-2320

PLATE

SN: 10006-UP

3шт.

|$41

6112-33-6300

GEAR ASS'Y,CENTER

SN: 10006-UP

1шт.

|$42

6112-33-6400

GEAR ASS'Y,L.H.

SN: 10006-UP

1шт.

|$43

6112-33-6500

GEAR ASS'Y,R.H.

SN: 10006-UP

1шт.

34

0

GEAR,CENTER

SN: 10006-UP

1шт.

35

0

GEAR,L.H.

SN: 10006-UP

1шт.

36

0

GEAR,R.H.

SN: 10006-UP

1шт.

37

6110-33-6120

BUSHING

SN: 10006-UP

1шт.

38

6110-23-2340

PLATE

SN: 10006-UP

3шт.

39

6114-21-2330

BOLT

SN: 10006-UP

6шт.

40

01643-31232

WASHER

SN: 10006-UP

6шт.

41

6115-21-6611

COVER

SN: 10241-UP

1шт.

41

0

COVER

SN: 10006-10240

1шт.

42

6110-21-6621

GASKET (K2)

SN: 10006-UP

1шт.

43

01010-30814

BOLT

SN: 10006-UP

20шт.

44

6110-21-6630

WASHER

SN: 10006-UP

20шт.

45

6114-21-7710

COVER

SN: 10006-10240

1шт.

46

6110-21-7820

GASKET

SN: 10006-10240

1шт.

47

01582-01008

NUT

SN: 10006-10240

4шт.

48

01602-01030

WASHER

SN: 10006-10240

4шт.

49

6115-81-2130

PLATE, NAME,(LIMITED SUPPLY)

SN: 26486-UP

1шт.

49

6115-81-2110

PLATE, NAME,(LIMITED SUPPLY)

SN: 10006-26485

1шт.

50

04418-03060

SCREW

SN: 10006-UP

4шт.

Выбрано товаров: 63