Запчасти Komatsu S4D130-1A ГЕНЕРАТОР (A)(№-) ОХЛАЖД-Е И ЭЛЕКТРИКАS

Схема запчастей Komatsu S4D130-1A - ГЕНЕРАТОР (A)(№-) ОХЛАЖД-Е И ЭЛЕКТРИКАS
FIT
1:1
100%

Артикул

Название

Примечание

Количество

|$0

600-821-8120

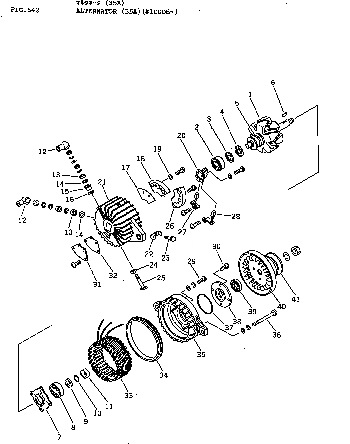
ALTERNATOR A. (35A)

SN: 10006-UP

1шт.

|$$2

-1шт.

1

KD7-33100-0070

ROTOR ASS'Y

SN: 10006-UP

1шт.

2

KD1-0462-63037

BEARING

SN: 10006-UP

1шт.

3

KD1-33926-0230

RETAINER

SN: 10006-UP

1шт.

4

KD1-33922-0070

PLATE

SN: 10006-UP

1шт.

5

KD1-33130-0180

SLIP RING ASS'Y

SN: 10006-UP

1шт.

6

KD1-0416-04160

KEY

SN: 10006-UP

1шт.

7

KD0-33926-0080

RETAINER

SN: 10006-UP

1шт.

8

KD1-0462-63047

BEARING

SN: 10006-UP

1шт.

9

KD1-33923-0150

COLLAR

SN: 10006-UP

1шт.

10

KD1-0505-02001

O-RING

SN: 10006-UP

1шт.

11

KD1-33923-0160

COLLAR

SN: 10006-UP

1шт.

|$13

KD7-33700-0080

REAR BRACKET ASS'Y

SN: 10006-UP

1шт.

12

KD1-09252-0020

CAP

SN: 10006-UP

4шт.

13

KD1-33923-0170

COLLAR

SN: 10006-UP

4шт.

14

KD1-0345-05001

WASHER

SN: 10006-UP

4шт.

15

KD1-33943-0300

BUSHING

SN: 10006-UP

3шт.

16

KD1-0345-08001

WASHER

SN: 10006-UP

3шт.

17

KD1-33946-0050

SHEET

SN: 10006-UP

2шт.

18

KD1-33730-0370

RECTIFIER A. (+)

SN: 10006-UP

1шт.

19

KD1-33941-0160

WASHER

SN: 10006-UP

2шт.

20

KD0-33720-0780

HOLDER

SN: 10006-UP

1шт.

21

KD0-33710-0272

BRACKET

SN: 10006-UP

1шт.

22

KD1-33927-0390

HOLDER

SN: 10006-UP

1шт.

23

KD0-33901-0430

BOLT

SN: 10006-UP

1шт.

24

KD1-33943-0701

BUSHING

SN: 10006-UP

3шт.

25

KD0-33901-0340

BOLT

SN: 10006-UP

3шт.

26

KD1-33730-0380

RECTIFIER A. (-)

SN: 10006-UP

1шт.

27

KD1-33740-0440

BRUSH

SN: 10006-UP

1шт.

28

KD1-33740-0430

BRUSH

SN: 10006-UP

1шт.

29

KD0-0056-04182

SCREW

SN: 10006-UP

4шт.

30

KD0-0055-04122

SCREW

SN: 10006-UP

4шт.

31

KD1-33761-0280

COVER

SN: 10006-UP

1шт.

32

KD1-33951-0121

PACKING

SN: 10006-UP

1шт.

33

KD1-33200-0300

STATOR ASS'Y

SN: 10006-UP

1шт.

34

KD1-33951-0130

PACKING

SN: 10006-UP

1шт.

35

KD0-33310-0132

FRONT BRACKET A.

SN: 10006-UP

1шт.

36

KD0-0276-05852

BOLT

SN: 10006-UP

4шт.

37

KD1-0507-08001

O-RING

SN: 10006-UP

1шт.

38

KD1-33926-0100

COLLAR

SN: 10006-UP

1шт.

39

KD1-0514-32523

SEAL

SN: 10006-UP

1шт.

40

KD1-33421-0450

FAN

SN: 10006-UP

1шт.

41

KD1-33411-0450

PULLEY,NON HARDENING

SN: 10006-UP

1шт.

Выбрано товаров: 0