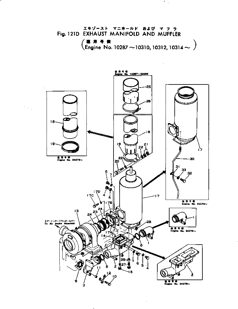
Запчасти Komatsu S4D155-4 ВЫПУСКНОЙ КОЛЛЕКТОР И ГЛУШИТЕЛЬ(№-) ГОЛОВКА ЦИЛИНДРОВ

Схема запчастей Komatsu S4D155-4 - ВЫПУСКНОЙ КОЛЛЕКТОР И ГЛУШИТЕЛЬ(№-) ГОЛОВКА ЦИЛИНДРОВ
FIT
1:1
100%

Артикул

Название

Примечание

Количество

1

6125-11-5113

MANIFOLD,FRONT

SN: 50279-UP

1шт.

1

6125-11-5112

MANIFOLD,FRONT

SN: 10287-50278

1шт.

2

6125-11-5123

MANIFOLD,CENTER

SN: 50279-UP

1шт.

2

6125-11-5122

MANIFOLD,CENTER

SN: 50214-50278

1шт.

2

0

MANIFOLD,CENTER

SN: 10314-50213

1шт.

3

6125-11-5132

MANIFOLD,REAR

SN: 10287-UP

1шт.

4

6128-81-9160

PLUG

SN: 10314-UP

3шт.

5

07003-01824

GASKET (K1)

SN: 10314-UP

3шт.

6

6110-81-9150

PLUG

SN: 10314-UP

3шт.

7

07003-01015

GASKET (K1)

SN: 10314-UP

3шт.

8

6127-11-5150

RING,SEAL

SN: 10287-UP

2шт.

9

6127-11-5810

GASKET (K1)

SN: 10287-UP

4шт.

10

01011-61210

BOLT

SN: 10287-UP

12шт.

11

6127-11-5180

SPACER

SN: 10287-UP

12шт.

12

6127-11-5190

LOCK (K1)

SN: 10287-UP

4шт.

13

6502-12-7001

TURBOCHARGER ASS'Y,(SEE FIG.141B)

SN: 10314-UP

1шт.

14

6127-81-2810

GASKET (K1)

SN: 10287-UP

1шт.

15

6128-81-2910

BOLT

SN: 50279-UP

4шт.

15

6128-81-2910

BOLT

SN: 10287-50278

8шт.

16

6710-81-2920

NUT

SN: 50279-UP

4шт.

16

6710-81-2920

NUT

SN: 50158-50278

7шт.

16

6128-81-2920

NUT

SN: 10314-50157

7шт.

17

6125-11-5613

MUFFLER,EXHAUST

SN: 50279-UP

1шт.

17

6125-11-5612

MUFFLER,EXHAUST

SN: 50061-50278

1шт.

17

6125-11-5611

MUFFLER,EXHAUST

SN: 10314-50060

1шт.

17A

6125-11-5690

FLANGE

SN: 10314-UP

1шт.

17B

6127-11-5450

GASKET (K1)

SN: 10314-UP

1шт.

17C

6128-11-5760

BOLT

SN: 50061-UP

4шт.

17C

01010-31025

BOLT

SN: 10314-50060

4шт.

17D

01602-01030

WASHER,SPRING

SN: 10314-50060

4шт.

18

6125-11-5624

PIPE,EXHAUST

SN: 50279-UP

1шт.

18

6125-11-5623

PIPE,EXHAUST

SN: 50061-50278

1шт.

18

6125-11-5622

PIPE,EXHAUST

SN: 10314-50060

1шт.

19

6125-11-5670

CLAMP

SN: 50279-UP

1шт.

19

6125-11-5760

CLAMP

SN: 50061-50278

1шт.

19

6127-11-5640

CLAMP

SN: 10287-50060

1шт.

20

01051-31485

BOLT

SN: 50061-50278

1шт.

20

01051-31420

BOLT

SN: 10287-50060

1шт.

21

01582-01411

NUT

SN: 10287-50278

2шт.

22

01641-21423

WASHER

SN: 10287-50278

2шт.

23

6125-11-5640

JOINT

SN: 10314-UP

1шт.

24

6128-81-2830

RING,SEAL

SN: 10314-UP

2шт.

25

6125-11-5710

PIPE

SN: 10314-50060

1шт.

26

600-714-1280

CLAMP

SN: 10314-50060

1шт.

27

01050-61265

BOLT

SN: 50279-UP

4шт.

27

6128-81-2910

BOLT

SN: 10314-50278

4шт.

28

01582-01210

NUT

SN: 50279-UP

4шт.

28

6128-81-2920

NUT

SN: 10314-50278

4шт.

29

6678-51-9520

SPACER

SN: 50279-UP

4шт.

30

6125-81-2840

PIPE

SN: 50279-UP

1шт.

31

6127-81-2841

CLAMP

SN: 50279-UP

1шт.

32

01010-31050

BOLT

SN: 50279-UP

1шт.

33

01641-21223

WASHER

SN: 50279-UP

1шт.

Выбрано товаров: 53