Запчасти Komatsu S4D95L-1A-C ГОЛОВКА ЦИЛИНДРОВ COVER ГОЛОВКА ЦИЛИНДРОВ

Схема запчастей Komatsu S4D95L-1A-C - ГОЛОВКА ЦИЛИНДРОВ COVER ГОЛОВКА ЦИЛИНДРОВ
FIT
1:1
100%

Артикул

Название

Примечание

Количество

|$0

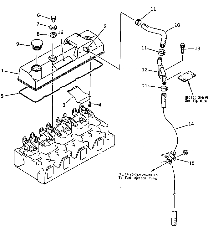
6205-11-8300

HEAD COVER ASS'Y

SN: 48797-UP

1шт.

1

6205-11-8110

COVER,HEAD

SN: 48797-UP

1шт.

2

6207-11-8170

TUBE

SN: 48797-UP

1шт.

3

6207-11-8140

PLATE

SN: 48797-UP

1шт.

4

04418-02550

SCREW

SN: 48797-UP

4шт.

5

6204-11-8810

O-RING (K1)

SN: 48797-UP

1шт.

6

6136-11-8120

NUT

SN: 48797-UP

3шт.

7

6136-11-8130

WASHER

SN: 48797-UP

3шт.

8

6136-11-8142

PACKING (K1)

SN: 48797-UP

3шт.

9

6204-11-8610

CAP,OIL

SN: 48797-UP

1шт.

10

07286-01616

HOSE,BREATHER

SN: 53289-UP

1шт.

10

07286-01620

HOSE,BREATHER

SN: 48797-53288

1шт.

11

07285-00180

CLIP

SN: 48797-UP

3шт.

12

6205-11-8930

TUBE,BREATHER

SN: 48797-UP

1шт.

13

01435-20614

BOLT

SN: 48797-UP

1шт.

14

07286-01680

HOSE

SN: 101674-UP

1шт.

14

0

HOSE

SN: 48797-101673

1шт.

15

08036-02514

CLIP

SN: 50238-UP

1шт.

15

0

CLAMP

SN: 48797-50237

1шт.

16

6204-81-2210

PLATE, NAME,(LIMITED SUPPLY) (ENGLISH)

SN: 48797-UP

1шт.

16

6204-81-2240

PLATE, NAME,(LIMITED SUPPLY) (SPANISH)

SN: 59654-UP

1шт.

16

6204-81-2260

PLATE, NAME,(LIMITED SUPPLY) (GERMAN)

SN: 59654-UP

1шт.

16

6204-81-2270

PLATE, NAME,(LIMITED SUPPLY) (INDONESIAN)

SN: 59654-UP

1шт.

16

6204-81-2290

PLATE, NAME,(LIMITED SUPPLY) (FRENCH)

SN: 59654-UP

1шт.

16

6204-81-2310

PLATE, NAME,(LIMITED SUPPLY) (ITALIAN)

SN: 59654-UP

1шт.

Выбрано товаров: 25