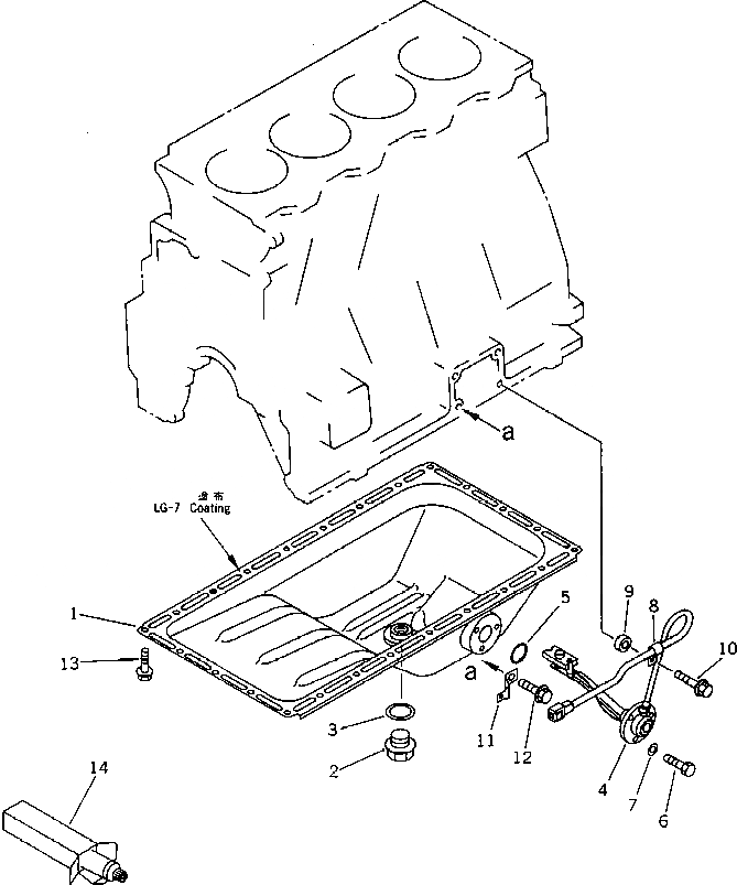
Запчасти Komatsu S4D95L-1A МАСЛЯНЫЙ ПОДДОН(№8797-798) БЛОК ЦИЛИНДРОВ

Схема запчастей Komatsu S4D95L-1A - МАСЛЯНЫЙ ПОДДОН(№8797-798) БЛОК ЦИЛИНДРОВ
FIT
1:1
100%

Артикул

Название

Примечание

Количество

1

6205-21-5130

PAN,OIL

SN: 48797-@

1шт.

2

6204-21-5180

PLUG,DRAIN

SN: 48797-@

1шт.

3

07005-02216

GASKET (K2)

SN: 48797-@

1шт.

4

7861-92-4210

SENSOR,OIL LEVEL

SN: 48797-@

1шт.

5

7861-91-4220

O-RING (K2)

SN: 48797-@

1шт.

6

01010-30612

BOLT

SN: 48797-@

3шт.

7

01641-20608

WASHER

SN: 48797-@

3шт.

8

08036-10614

CLIP

SN: 48797-@

1шт.

9

6131-12-5920

SPACER

SN: 48797-@

1шт.

10

01435-21025

BOLT

SN: 48797-@

1шт.

11

08053-01512

CLIP

SN: 48797-@

1шт.

12

01435-21016

BOLT

SN: 48797-@

1шт.

13

01435-00814

BOLT

SN: 53289-@

24шт.

|13

01435-20814

BOLT

SN: 48797-53288

24шт.

14

09920-00150

LIQUID GASKET,LG-7¤ 150G

SN: 48797-67198

-2шт.

Выбрано товаров: 15