Запчасти Komatsu S4D95L-1B-3 ТОПЛИВН. ФИЛЬТР. И ТРУБЫ ТОПЛИВН. СИСТЕМА

Схема запчастей Komatsu S4D95L-1B-3 - ТОПЛИВН. ФИЛЬТР. И ТРУБЫ ТОПЛИВН. СИСТЕМА
FIT
1:1
100%

Артикул

Название

Примечание

Количество

|1

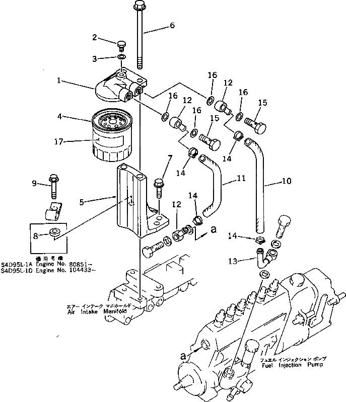
6204-71-6101

FUEL FILTER ASS'Y

SN: 65073-UP

1шт.

|1

0

FUEL FILTER ASS'Y

SN: 48811-65072

1шт.

1

600-311-9640

HEAD

SN: 48811-UP

1шт.

2

600-311-6720

PLUG

SN: 48811-UP

1шт.

3

07005-00812

GASKET

SN: 48811-UP

1шт.

4

600-311-8221

CARTRIDGE

SN: 65073-UP

1шт.

|4

0

CARTRIDGE

SN: 48811-65072

1шт.

5

6205-71-6711

BRACKET

SN: 48811-UP

1шт.

6

01436-01080

BOLT

SN: 48811-UP

2шт.

7

01435-21030

BOLT

SN: 48811-UP

1шт.

8

6110-23-6490

SPACER

SN: 81013-UP

1шт.

9

01435-21035

BOLT

SN: 81013-UP

1шт.

|9

01435-21030

BOLT

SN: 48811-81012

1шт.

10

07260-20936

HOSE

SN: 48811-UP

1шт.

11

07260-20930

HOSE

SN: 48811-UP

1шт.

12

6144-71-5750

JOINT

SN: 48811-UP

3шт.

13

6206-71-5850

JOINT

SN: 48811-UP

1шт.

14

07281-00197

CLAMP

SN: 48811-UP

4шт.

15

07206-31014

BOLT,JOINT

SN: 48811-UP

2шт.

16

07005-01412

GASKET (K2)

SN: 48811-UP

4шт.

17

600-311-1120

PLATE¤ CAUTION,(ENGLISH)

SN: 59717-UP

1шт.

|17

600-311-1130

PLATE¤ CAUTION,(SPANISH-ENGLISH)

SN: 59717-UP

1шт.

|17

600-311-1140

PLATE¤ CAUTION,(GERMAN-ENGLISH)

SN: 59717-UP

1шт.

|17

600-311-1150

PLATE¤ CAUTION,(FRENCH-ENGLISH)

SN: 59717-UP

1шт.

|17

600-311-1220

PLATE¤ CAUTION,(INDONESIAN)

SN: 59717-UP

1шт.

|17

600-311-1250

PLATE¤ CAUTION,(ITALIAN-ENGLISH)

SN: 59717-UP

1шт.

Выбрано товаров: 0