Запчасти Komatsu S4D95L-1B ГЛУШИТЕЛЬ И СОЕДИН-Е (ШУМОПОДАВЛ. СПЕЦ-Я)(№88-8) ГОЛОВКА ЦИЛИНДРОВ

Схема запчастей Komatsu S4D95L-1B - ГЛУШИТЕЛЬ И СОЕДИН-Е (ШУМОПОДАВЛ. СПЕЦ-Я)(№88-8) ГОЛОВКА ЦИЛИНДРОВ
FIT
1:1
100%

Артикул

Название

Примечание

Количество

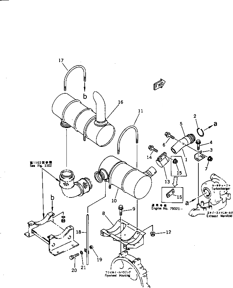
1

6205-11-5620

PIPE

SN: 48811-104408

1шт.

2

6207-11-5380

RING,SEAL

SN: 48811-104408

1шт.

3

6207-11-5990

BRACKET

SN: 48811-104408

1шт.

4

01435-01020

BOLT

SN: 48811-104408

2шт.

5

6205-11-5930

CLIP

SN: 48811-104408

1шт.

6

01435-01025

BOLT

SN: 48811-104408

1шт.

7

01584-01008

NUT

SN: 48811-104408

1шт.

8

6205-11-5530

BRACKET

SN: 48811-104408

1шт.

9

01435-01025

BOLT

SN: 48811-104408

4шт.

10

6205-11-5230

MUFFLER

SN: 48811-104408

1шт.

11

6206-11-5980

U-BOLT

SN: 48811-104408

2шт.

12

01584-00806

NUT

SN: 48811-104408

4шт.

13

6206-11-5910

CLAMP

SN: 48811-104408

1шт.

14

01435-01235

BOLT

SN: 48811-104408

2шт.

15

6206-11-5850

PLATE,LOCK

SN: 79717-104408

1шт.

|15

0

NUT

SN: 48811-79716

2шт.

16

6205-11-5240

MUFFLER

SN: 48811-104408

1шт.

17

6206-11-5980

U-BOLT

SN: 48811-104408

2шт.

18

6205-11-5460

TUBE

SN: 48811-104408

1шт.

19

175-79-33240

SPACER

SN: 48811-104408

1шт.

20

01010-51050

BOLT

SN: 48811-104408

1шт.

21

01643-31032

WASHER

SN: 48811-104408

1шт.

Выбрано товаров: 22