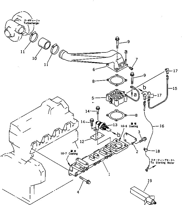
Запчасти Komatsu S4D95L-1F ТРУБОПРОВОД ВПУСКА ВОЗДУХА И СОЕДИН-Е ГОЛОВКА ЦИЛИНДРОВ

Схема запчастей Komatsu S4D95L-1F - ТРУБОПРОВОД ВПУСКА ВОЗДУХА И СОЕДИН-Е ГОЛОВКА ЦИЛИНДРОВ
FIT
1:1
100%

Артикул

Название

Примечание

Количество

|1

6204-11-4120

INTAKE MANIFOLD A.

SN: 48811-UP

1шт.

1

6204-11-4130

MANIFOLD,INTAKE

SN: 48811-UP

1шт.

2

6204-11-4140

PLATE

SN: 48811-UP

1шт.

3

01435-00812

BOLT

SN: 48811-UP

4шт.

4

01435-21075

BOLT

SN: 48811-UP

8шт.

5

600-815-2341

HEATER,RIBBON

SN: 48811-UP

1шт.

6

6205-11-4310

CONNECTOR,AIR

SN: 48811-UP

1шт.

7

07043-50108

PLUG

SN: 48811-UP

1шт.

8

6136-11-4820

GASKET (K1)

SN: 48811-UP

2шт.

9

01435-21070

BOLT

SN: 48811-UP

4шт.

10

6207-11-4370

HOSE

SN: 48811-UP

1шт.

11

07281-00709

CLAMP

SN: 48811-UP

2шт.

12

6205-81-5510

PLATE

SN: 48811-UP

1шт.

13

600-815-2170

SWITCH,HEATER

SN: 48811-UP

1шт.

14

01435-20612

BOLT

SN: 48811-UP

3шт.

15

6151-81-4410

WIRE¤ 265MM

SN: 48811-UP

1шт.

16

6205-81-4710

WIRE

SN: 48811-UP

1шт.

17

08038-00519

CAP

SN: 48811-UP

3шт.

18

08036-10810

CLIP

SN: 48811-UP

1шт.

19

09920-00150

LIQUID GASKET,LG-7¤ 150G

SN: 48811-UP

-2шт.

Выбрано товаров: 20