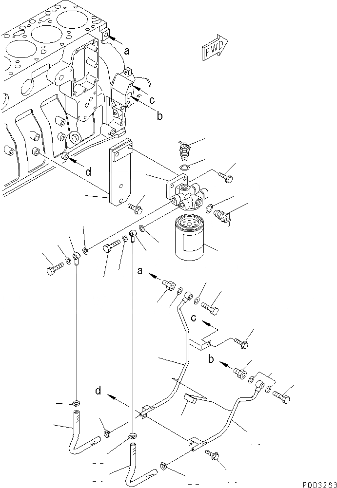
Запчасти Komatsu S6D102E-1C-6C АНТИКОРРОЗ. ЭЛЕМЕНТ(№8-) ДВИГАТЕЛЬ

Схема запчастей Komatsu S6D102E-1C-6C - АНТИКОРРОЗ. ЭЛЕМЕНТ(№8-) ДВИГАТЕЛЬ
1
2
2
3
3
4
5
6
7
8
9
10
11
11
12
13
14
15
16
17
18
19
19
20
20
21
21
21
21
22
22
22
22
23
23
1
2
2
3
3
4
5
6
7
8
9
10
11
11
12
13
14
15
16
17
18
19
19
20
20
21
21
21
21
22
22
22
22
23
23
FIT
1:1
100%

Артикул

Название

Примечание

Количество

|$1

6732-61-8200

HEAD ASS'Y

SN: 26201318-UP

1шт.

1

600-411-2110

HEAD

SN: 26201318-UP

1шт.

2

600-411-2120

VALVE ASS'Y

SN: 26201318-UP

2шт.

3

600-411-2130

GASKET,CORROSION

SN: 26201318-UP

2шт.

4

600-411-1151

CARTRIDGE

SN: 26201318-UP

1шт.

5

6735-61-8130

BRACKET

SN: 26201318-UP

1шт.

6

01435-01040

BOLT

SN: 26261637-UP

2шт.

6

01435-21040

BOLT

SN: 26201318-26261636

2шт.

7

01435-01230

BOLT

SN: 26261637-UP

2шт.

7

01435-21230

BOLT

SN: 26201318-26261636

2шт.

8

6735-61-8112

TUBE

SN: 26214341-UP

1шт.

8

0

TUBE

SN: 26201318-26214340

1шт.

9

6735-61-8140

NIPPLE

SN: 26214341-UP

1шт.

9

6151-71-5910

CONNECTOR

SN: 26201318-26214340

1шт.

10

07206-31014

BOLT,JOINT

SN: 26201318-UP

1шт.

11

07005-01412

SEAL, WASHER

SN: 26201318-UP

2шт.

12

01435-01080

BOLT

SN: 26201318-UP

1шт.

13

6735-61-8120

TUBE

SN: 26201318-UP

1шт.

14

6151-71-5910

CONNECTOR

SN: 26201318-UP

1шт.

15

07206-31014

BOLT,JOINT

SN: 26201318-UP

1шт.

16

07005-01412

SEAL, WASHER

SN: 26201318-UP

2шт.

17

6202-72-5530

CLAMP

SN: 26201318-UP

1шт.

18

01435-00816

BOLT

SN: 26261048-UP

1шт.

18

0

BOLT

SN: 26201318-26261047

1шт.

19

6144-71-5750

JOINT

SN: 26201318-UP

2шт.

20

07206-31014

BOLT,JOINT

SN: 26201318-UP

2шт.

21

07005-01412

SEAL, WASHER

SN: 26201318-UP

4шт.

22

07281-00197

CLAMP

SN: 26201318-UP

4шт.

23

07260-20935

HOSE

SN: 26201318-UP

2шт.

|$1

6732-61-8200

HEAD ASS'Y

1

600-411-2110

HEAD

2

600-411-2120

VALVE ASS'Y

3

600-411-2130

GASKET,CORROSION

4

600-411-1151

CARTRIDGE

5

6735-61-8130

BRACKET

6

01435-01040

BOLT

6

01435-21040

BOLT

7

01435-01230

BOLT

7

01435-21230

BOLT

8

6735-61-8112

TUBE

8

6735-61-8111

TUBE

9

6735-61-8140

NIPPLE

9

6151-71-5910

CONNECTOR

10

07206-31014

BOLT,JOINT

11

07005-01412

SEAL, WASHER

12

01435-01080

BOLT

13

6735-61-8120

TUBE

14

6151-71-5910

CONNECTOR

15

07206-31014

BOLT,JOINT

16

07005-01412

SEAL, WASHER

17

6202-72-5530

CLAMP

18

01435-00816

BOLT

18

01435-20816

BOLT

19

6144-71-5750

JOINT

20

07206-31014

BOLT,JOINT

21

07005-01412

SEAL, WASHER

22

07281-00197

CLAMP

23

07260-20935

HOSE

Выбрано товаров: 58