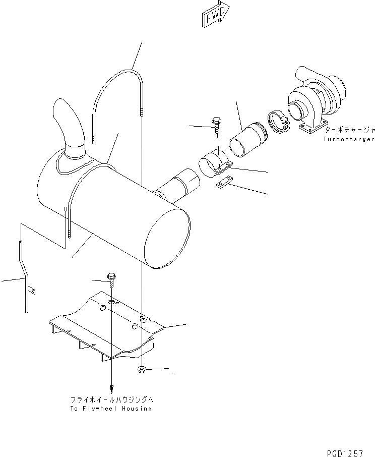
Запчасти Komatsu S6D102E-1C-Z ГЛУШИТЕЛЬ И КРЕПЛЕНИЕ(№8-9) ДВИГАТЕЛЬ

Схема запчастей Komatsu S6D102E-1C-Z - ГЛУШИТЕЛЬ И КРЕПЛЕНИЕ(№8-9) ДВИГАТЕЛЬ
1
2
2
3
4
5
6
7
8
9
10
FIT
1:1
100%

Артикул

Название

Примечание

Количество

1

6735-11-5530

MUFFLER

SN: 26201318-@

1шт.

2

6222-11-5940

U-BOLT

SN: 26201318-@

2шт.

3

01594-01008

NUT

SN: 26201318-@

4шт.

4

6210-11-5232

CLAMP

SN: 26201318-@

1шт.

5

6206-11-5850

PLATE

SN: 26201318-@

1шт.

6

01435-01235

BOLT

SN: 26201318-@

2шт.

7

6207-11-5431

BRACKET

SN: 26201318-@

1шт.

8

01435-01025

BOLT

SN: 26201318-@

4шт.

9

6735-11-5610

TUBE

SN: 26201318-26221095

1шт.

10

6209-11-5480

TUBE

SN: 26201318-@

1шт.

Выбрано товаров: 10