Качественные детали и логистика
Оригинальные и аналоговые запчасти с доставкой по России, Казахстану и Беларуси
©2022 PartSell ООО "Система" ИНН 2463123282 ОГРН 1212400004838
Центральный офис: г. Красноярск, Академика Киренского, д.87, пом.4
Телефон: 8 (800) 777-65-74 Email: zakaz@partsell.ru
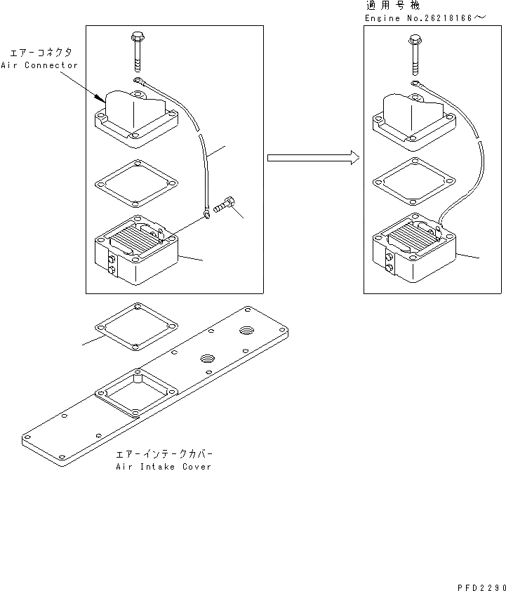
ПОДОГРЕВАТЕЛЬ ВПУСКА ВОЗДУХА
№
Артикул
Название
Примечание
Количество
1
6732-81-5120
HEATER ASS'Y
SN: 26200929-UP
1шт.
2
6732-81-4610
HARNESS
SN: 26200929-26218165
3
6732-11-4811
GASKET
SN: 26218166-UP
|3
0
Выбрано товаров: 0